Sony RM-C950 handleiding
Handleiding
Je bekijkt pagina 32 van 44

32
CAMERA
!£ Touche LOCK (verrouillage) et indicateur LOCK
(verrouillage)
Cette touche permet de verrouiller les réglages des boutons
!¢ à !¶.
L’indicateur LOCK s’allume lorsque les réglages ont été
verrouillés.
!¢ Bouton MASTER PEDESTAL (niveau de
suppression)
Permet de régler simultanément le signal de sortie du
niveau de suppression pour les canaux R, V et B.
!∞ Bouton DETAIL (netteté des contours)
Permet de régler la netteté des contours sur l’image.
!§ Bouton GAIN (gain)
Permet de régler le niveau du signal de sortie vidéo pour
compenser de mauvaises conditions d’éclairage. Le bouton
GAIN est uniquement opérant si la commande “Gain” de la
caméra vidéo DXC-950/950P/970MD (non fournie) est
réglée sur “step”. Le gain est réglable dans une plage
comprise entre 0 dB et 18 dB.
!¶ Bouton GAIN RED/BLUE (réglage de la
balance des blancs)
Permet le réglage de la balance des blancs.
RED: Réglage du gain rouge.
BLUE: Réglage du gain bleu.
Le bouton GAIN RED/BLUE est uniquement opérant si la
commande “WHT.Bal” de la caméra vidéo DXC-950/950P/
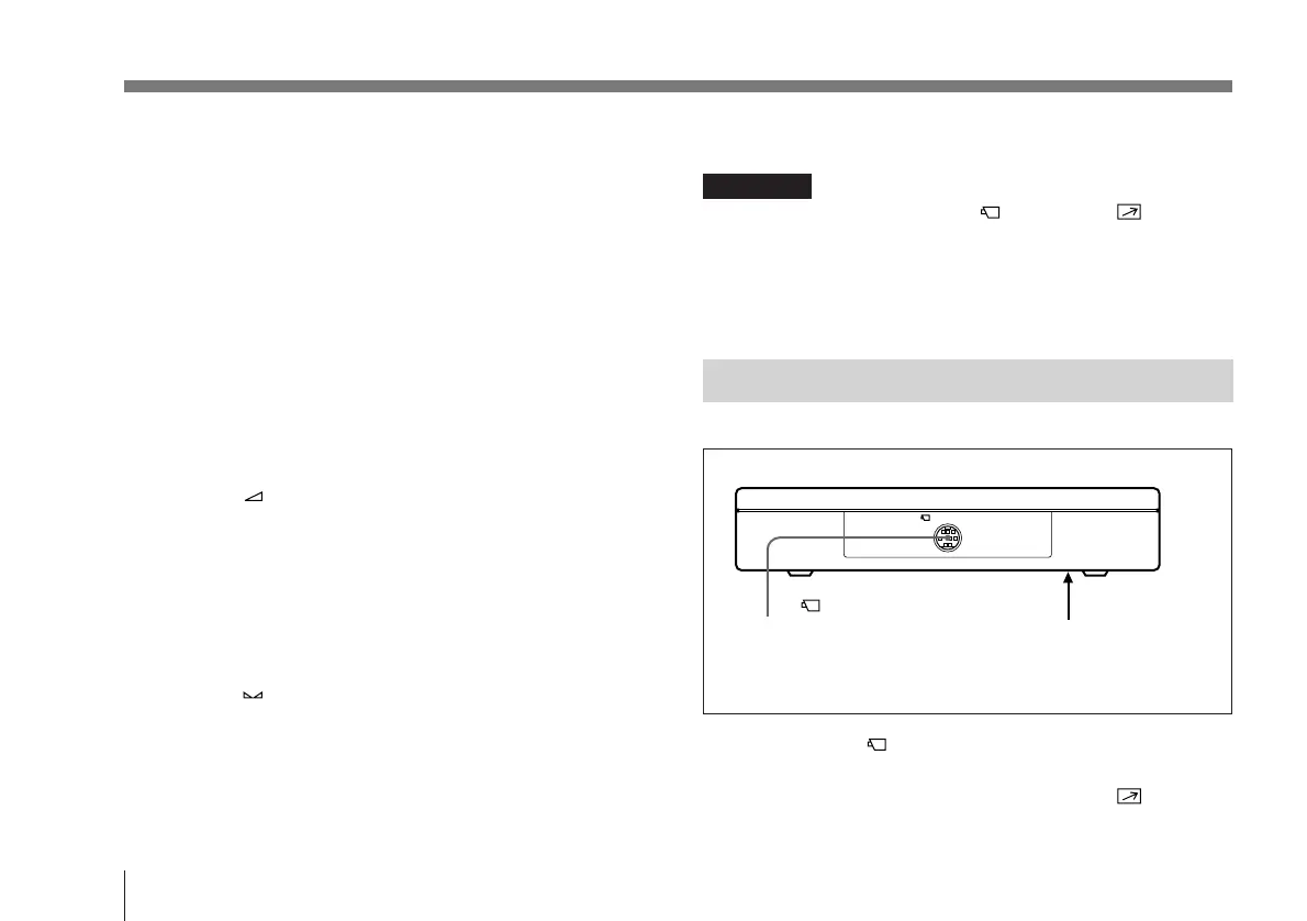
Panneau arrière
1
Connecteur
CAMERA (caméra)
(miniconnecteur DIN à 8 broches)
Raccordez-le au connecteur de télécommande de la
caméra vidéo DXC-950/950P/970MD (non fournie) à l’aide
du câble de connexion fourni.
Emplacement et fonctions des composants
Deux orifices pour vis ont été pratiqués sur la base de cet appareil.
Ils permettent la fixation de l’appareil sur une étagère. Pour plus de
détails sur l’utilisation, prenez contact avec le magasin où vous
avez acheté l’appareil ou avec votre revendeur Sony.
1 Connecteur de caméra
970MD (non fournie) est réglée sur “manu”.
Remarque
Si vous réglez le commutateur CAMERA/
REMOTE sur la position CAMERA ou si vous débranchez
le câble de commande après avoir réglé les boutons !¢ à !¶
de la télécommande, les réglages seront ramenés aux
réglages précédents de la caméra.
Bekijk gratis de handleiding van Sony RM-C950, stel vragen en lees de antwoorden op veelvoorkomende problemen, of gebruik onze assistent om sneller informatie in de handleiding te vinden of uitleg te krijgen over specifieke functies.
Productinformatie
Merk | Sony |
Model | RM-C950 |
Categorie | Niet gecategoriseerd |
Taal | Nederlands |
Grootte | 3567 MB |