Sony HDVF-C950W handleiding
Handleiding
Je bekijkt pagina 21 van 34

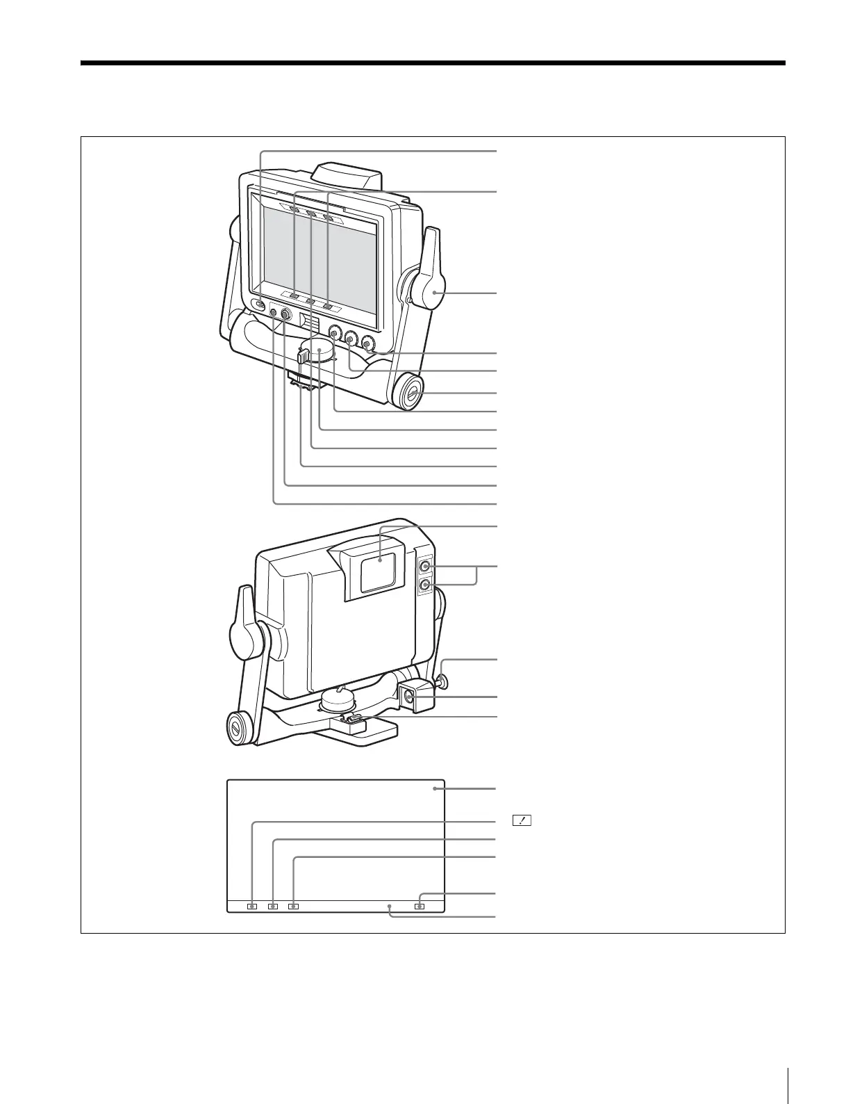
Location and Function of Parts
21
Location and Function of Parts
a POWER switch
Turns the LCD panel on and off.
b Red (R) tally lamps
Light up when the camera receives a red tally signal.
1 POWER switch
2 Red (R) tally lamps
3 Tilt-lock/friction adjustment lever
4 CONTRAST control
5 BRIGHT control
6 Lift-lock release knob 1
7 PEAKING control
8 Pan-lock/friction adjustment lever
9 Green (G) tally lamps
0 Mounting wedge
qa MENU control
qs MENU switch
qd External tally lamp
qf ASSIGN. 1/ASSIGN. 2 switches
qg Lift-lock release knob 2
qh CAMERA connector
qj Cable clamper
Image display area
qk indicator
ql MAG indicator
w; Magnified section indicator
wa BATT indicator
Indicator section
Front
Rear
LCD screen
Bekijk gratis de handleiding van Sony HDVF-C950W, stel vragen en lees de antwoorden op veelvoorkomende problemen, of gebruik onze assistent om sneller informatie in de handleiding te vinden of uitleg te krijgen over specifieke functies.
Productinformatie
Merk | Sony |
Model | HDVF-C950W |
Categorie | Niet gecategoriseerd |
Taal | Nederlands |
Grootte | 6040 MB |