Sony BKM-FW31 handleiding
Handleiding
Je bekijkt pagina 7 van 100

7
JP
ネットワーク機能を使う準備をする
ネットワーク機
能を使う準備を
する
本機は、10BASE-T/100BASE-TXの LAN
ケーブルでネットワークに接続することが で
きます。
ここでは、ネットワークに接続して本機の
ネットワーク機能を使うために必要な準備に
ついて説明します。
本機を取り付ける
取り付けする前に
• ディスプレイとディスプレイにつながれて
いるすべての機器の電源を切ってくださ
い。特にディスプレイについては、ディス
プレイの 1スイッチを押してスタンバイ状
態にし、コンセントから電 源コードを抜い
てから取り付けを行ってください。
• 取り付け作業は、ディスプレイ本体を安定
した状態に固定して行ってください。
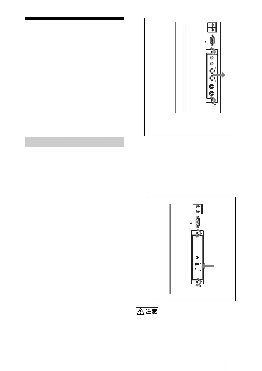
本機(BKM-FW31)を以下の手順に従っ
て、ディスプレイ本体に取り付けてください。
1
すでに取り付けられているオプション
アダプターの上下にあるネジ(
2
本)
をマイナスドライバーを使って反時計
方向回りにゆるめ、オプションアダプ
ターをゆっくりとディスプレイ本体か
ら引き出す。
2
本機の上下を確かめて、ディスプレイ
本体に押し込む。
ディスプレイ内部のコネクター部を確 実に
接続してください。上下のネジ(2本)をマ
イナスドライバーで締めて、必要な配線を
する。
コネクター部には手を触れない
ディスプレイ内部のコネクター部には手を触
れないでください。けがをしたり故障の原因
となることがあります。
VIDEO
S VIDEO
INOUTINOUTRL
AUDIO IN
VIDEO INPUT ADAPTOR
CONTROL S
REMOTE
IN OUT
1
1
2
オプションス
ロットがディ
スプレイの右
側面の場合
*
* オプションスロットの位置は機種によっ
て異なります。
FWD
シリーズの取扱説
明書をあわせてご確認ください。
CONTROL S
REMOTE
IN OUT
2
2
1
NETWORK MANAGEMENT
Bekijk gratis de handleiding van Sony BKM-FW31, stel vragen en lees de antwoorden op veelvoorkomende problemen, of gebruik onze assistent om sneller informatie in de handleiding te vinden of uitleg te krijgen over specifieke functies.
Productinformatie
| Merk | Sony |
| Model | BKM-FW31 |
| Categorie | Niet gecategoriseerd |
| Taal | Nederlands |
| Grootte | 8122 MB |







