Sony BC-U2 handleiding
Handleiding
Je bekijkt pagina 31 van 71

Lage und Funktion der Teile
Lage und Funktion der Teile
31
Lage und Funktion der Teile
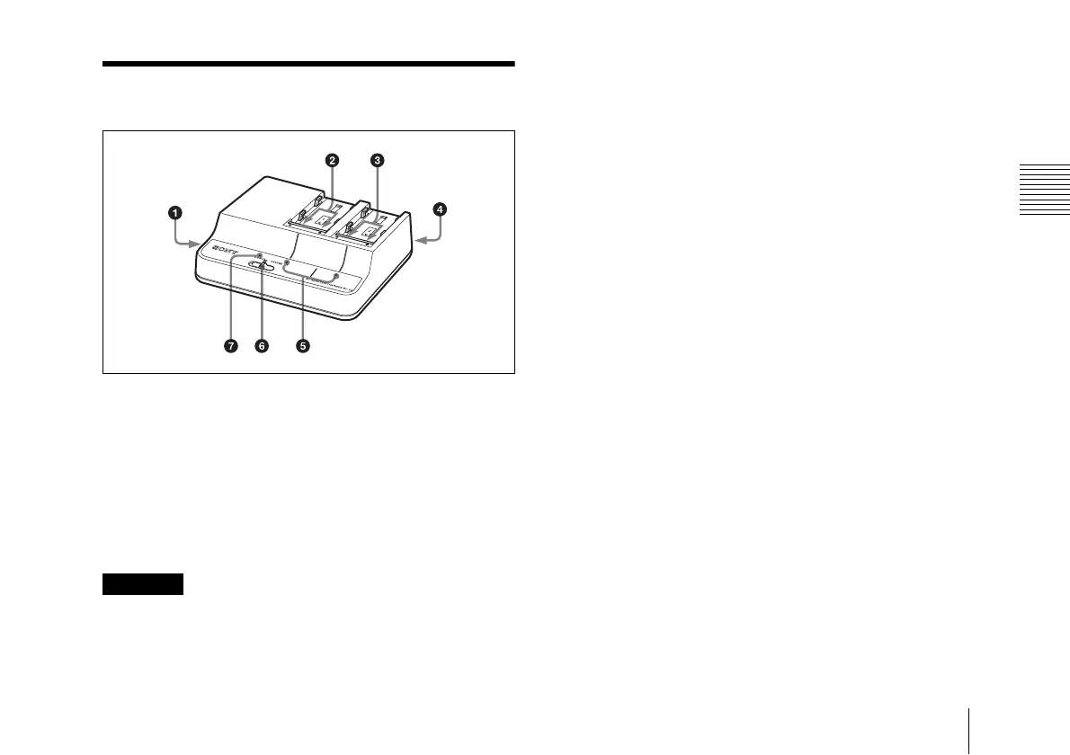
a DC OUT-Buchse
Versorgt ein über das mitgelieferte Gleichspannungs-
Ausgangskabel angeschlossenes Gerät mit Gleichspannung, wenn
der Moduswahlschalter auf DC OUT steht.
Das Gleichspannungs-Ausgangskabel hat einen Stecker mit
schwarzer Isolierung und einen Stecker mit gelber Isolierung.
Schließen Sie den Stecker mit schwarzer Isolierung an diesen
Apparat und den Stecker mit gelber Isolierung an das
angeschlossene Gerät an.
• Schließen Sie kein Gerät an, dessen Leistungsaufnahme die
angegebenen Nennwerte überschreitet.
• Abhängig vom Stromverbrauch des angeschlossenen Geräts
könnte der Apparat warm werden. Dabei handelt es sich um keine
Störung. Vermeiden Sie längeren Kontakt mit dem Apparat, falls
er warm werden sollte.
b Ladeanschluss Kanal 1
Liefert Strom, wenn der Moduswahlschalter auf CHARGE steht.
Der Ladestrom wird automatisch deaktiviert, wenn es sich beim
angebrachten Akku nicht um einen Lithium-Ionen-Akku handelt.
c Ladeanschluss Kanal 2
Liefert unabhängig von der Einstellung des Moduswahlschalters
stets Strom.
Der Ladestrom wird automatisch deaktiviert, wenn es sich beim
angebrachten Akku nicht um einen Lithium-Ionen-Akku handelt.
d Eingangsanschluss für Wechselspannung
Zum Anschließen an eine Wechselspannungsquelle über das
mitgelieferte Netzkabel.
e Anzeigen CHARGE
Zeigen beim Laden von Akkus den Ladezustand der angebrachten
Akkus an.
Nähere Informationen finden Sie unter „Aufladen von Akkus“.
f Moduswahlschalter
CHARGE: Zum Aufladen von an Kanal 1 und Kanal 2
angeschlossenen Lithium-Ionen-Akkus.
DC OUT: Zur Versorgung mit Gleichspannung vom DC OUT-
Ausgang und gleichzeitig mit Strom von einem an Kanal 2
angeschlossenen Lithium-Ionen-Akku. (Ein an Kanal 1
angeschlossener Akku wird dabei nicht geladen.)
g Anzeige DC OUT
Leuchtet grün, wenn der Moduswahlschalter auf DC OUT
eingestellt ist und Gleichspannung ausgegeben wird.
Hinweise
Bekijk gratis de handleiding van Sony BC-U2, stel vragen en lees de antwoorden op veelvoorkomende problemen, of gebruik onze assistent om sneller informatie in de handleiding te vinden of uitleg te krijgen over specifieke functies.
Productinformatie
Merk | Sony |
Model | BC-U2 |
Categorie | Niet gecategoriseerd |
Taal | Nederlands |
Grootte | 10561 MB |
Caratteristiche Prodotto
Kleur van het product | Zwart |
Gewicht | 650 g |
Breedte | 177 mm |
Diepte | 137 mm |
Hoogte | 53.2 mm |