Sony BC-L90 handleiding
Handleiding
Je bekijkt pagina 57 van 92

57
Ricarica di gruppi batteria
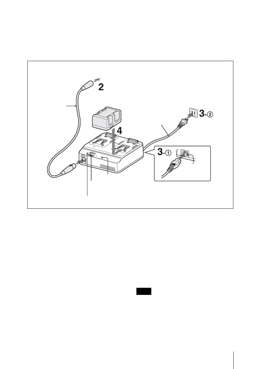
Ricarica in modalità DC OUT
È possibile caricare un gruppo batteria sul
canale 2 fornendo allo stesso tempo
alimentazione a un dispositivo collegato.
1
Impostare l’interruttore di selezione
modalità su DC OUT.
2
Collegare un cavo di alimentazione CC
(non fornito) al connettore DC OUT
1 e al dispositivo alimentato in CC
2.
3
Collegare il cavo di alimentazione CA
(non fornito) al connettore di ingresso
CA 1 e ad una fonte di alimentazione
CA 2.
L’alimentazione CC viene fornita al
dispositivo collegato nel punto 2 e
l’indicatore DC OUT si illumina con
luce verde.
4
Inserire un gruppo batteria sul canale
2.
Fare riferimento al punto 3 per “Ricarica in
modalità CHARGE” informazioni su come
inserire un gruppo batteria.
Rimozione del gruppo
batteria
Sfilare il gruppo batteria nella direzione
opposta a quella di inserimento e quindi
sollevarlo.
I gruppi batteria sono fermati in posizione
mediante un semplice meccanismo di
bloccaggio. Evitare la caduta dei gruppi
batterie durante la rimozione.
1
2
12
A
C
A
D
A
P
T
O
R
/C
H
A
R
G
E
R
B
C
-L
9
0
Al dispositivo alimentato in CC
Cavo di
alimentazione
CC (non fornito)
Interruttore di selezione
modalità
Gruppo batterie
agli ioni di litio
Connettore di
ingresso CA
Cavo di
alimentazione CA
(non fornito)
Alla fonte di alimentazione CA
Indicatore CHARGE
Indicatore DC OUT
Nota
Bekijk gratis de handleiding van Sony BC-L90, stel vragen en lees de antwoorden op veelvoorkomende problemen, of gebruik onze assistent om sneller informatie in de handleiding te vinden of uitleg te krijgen over specifieke functies.
Productinformatie
| Merk | Sony |
| Model | BC-L90 |
| Categorie | Niet gecategoriseerd |
| Taal | Nederlands |
| Grootte | 10989 MB |
Caratteristiche Prodotto
| Kleur van het product | Zwart |
| Type stroombron | AC |
| Ondersteund aantal accu's/batterijen | 2 |
| Geschikt voor | Batterij voor digitale camera's |
| Aantal per verpakking | 1 stuk(s) |







