Sony BC-L90 handleiding
Handleiding
Je bekijkt pagina 37 van 92

37
Chargement des batteries
Charge en mode DC OUT
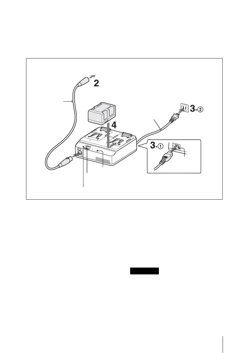
Vous pouvez charger une batterie sur le
canal 2 tout en alimentant un dispositif
branché.
1
Réglez l’interrupteur de sélection de
mode sur DC OUT.
2
Raccordez un cordon d’alimentation
CD (non fourni) au connecteur DC
OUT 1 et au dispositif alimenté en
CD 2.
3
Raccordez un cordon d’alimentation
CA (non fourni) au connecteur
d’entrée CA 1 et à une source
d’alimentation CA 2.
L’alimentation CD est fournie au
dispositif branché à l’étape 2, et
l’indicateur DC OUT s’allume en vert.
4
Mettez en place une batterie sur le
canal 2.
Consultez l’étape 3 dans « Charge en mode
CHARGE » pour en savoir plus sur la façon de
mettre en place une batterie.
Retrait d’une batterie
Glissez la batterie branchée dans le sens
contraire à celui du branchement, puis tirez
vers le haut.
Les batteries sont branchées via un simple
mécanisme de verrouillage. Veillez à ne pas
faire tomber la batterie en la retirant.
1
2
12
A
C
A
D
A
P
T
O
R
/C
H
A
R
G
E
R
B
C
-L
9
0
Vers un dispositif à alimentation CD
Cordon
d’alimentation
CD (non fourni)
Interrupteur de sélection
de mode
Batterielithium-ion
Connecteur
d’entrée CA
Cordon d’alimentation
CA (non fourni)
Vers la source
d’alimentation CA
Indicateur de CHARGE
Indicateur DC OUT
Remarque
Bekijk gratis de handleiding van Sony BC-L90, stel vragen en lees de antwoorden op veelvoorkomende problemen, of gebruik onze assistent om sneller informatie in de handleiding te vinden of uitleg te krijgen over specifieke functies.
Productinformatie
| Merk | Sony |
| Model | BC-L90 |
| Categorie | Niet gecategoriseerd |
| Taal | Nederlands |
| Grootte | 10989 MB |
Caratteristiche Prodotto
| Kleur van het product | Zwart |
| Type stroombron | AC |
| Ondersteund aantal accu's/batterijen | 2 |
| Geschikt voor | Batterij voor digitale camera's |
| Aantal per verpakking | 1 stuk(s) |







