Sogo SS-21825 handleiding
Handleiding
Je bekijkt pagina 6 van 42

6
español english français portuguese deutsch italiano
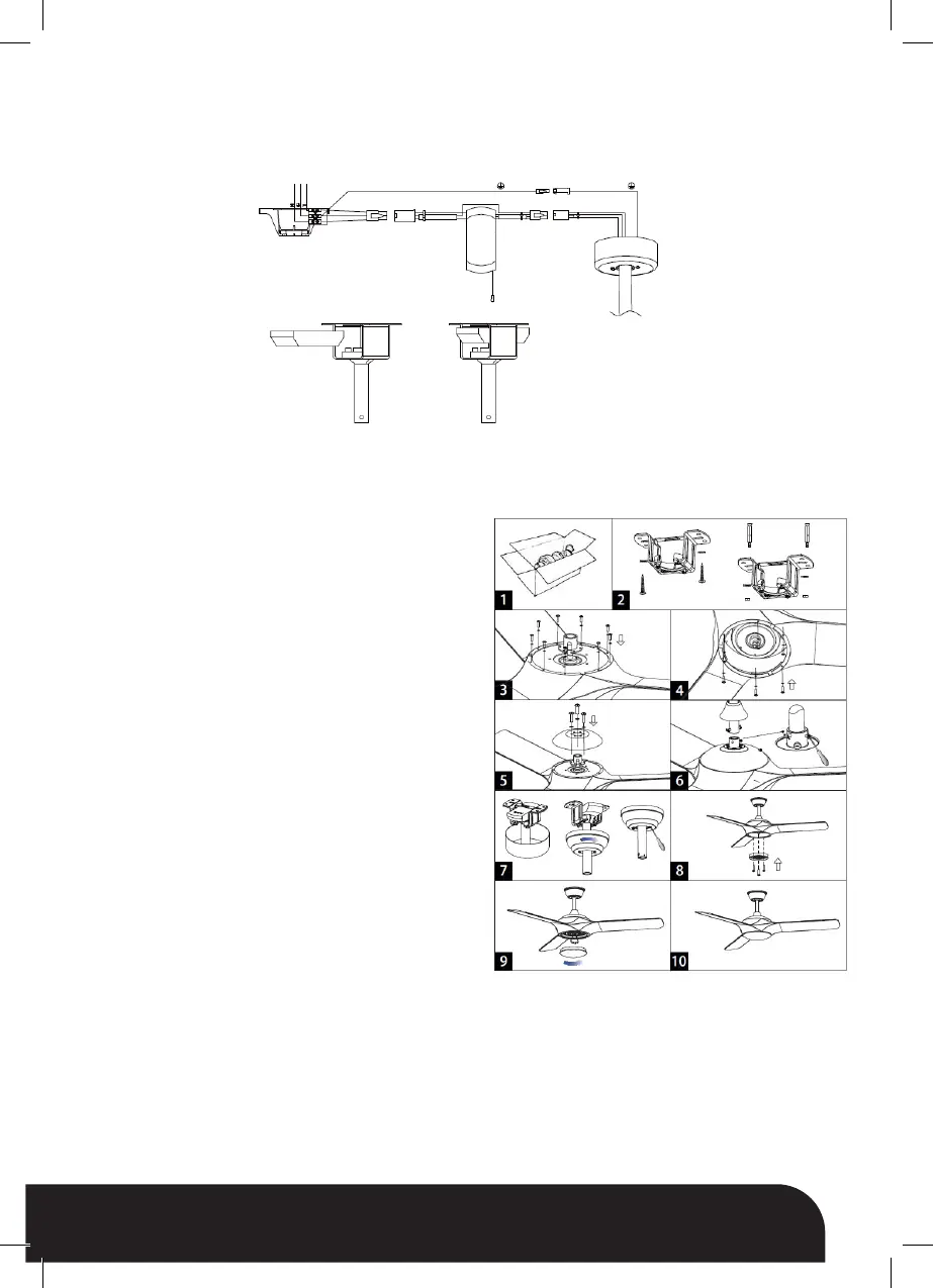
CONEXIÓN DE CONTROL REMOTO
ADVERTENCIA: Para evitar lesiones o daños personales, asegúrese de desconectar la alimentación de
la caja de fusibles principal antes de realizar el cableado.
MONTAJE
Asegúrese de tener todos los componentes antes de comenzar la instalación. Para evitar daños, acople el
motor a la varilla de soporte sobre una supercie blanda o utilice el poliestireno contenido en el paquete.
Amarillo / verde
Soporte
Lugar receptor
Control
remoto
Amarillo / verde
1. Abra la caja de cartón y saque el ventilador. (Fig.1)
2. Monte la placa de soporte en el techo con dos o
más tacos de tornillo y las arandelas adecuadas.
Atención, los tornillos suministrados son para
vigas de madera y techos de hormigón. (Fig.2)
3. Atornille la hoja en la placa de la hoja de acuerdo
con el oricio del tornillo. (Fig.3)
4. Apriete la conexión de la hoja de acuerdo con el
oricio de la hoja. (Fig.4)
5. Apriete la tapa del motor en el soporte superior del
motor. (Fig.5)
6. Inserte la varilla de soporte a través de la tapa
superior y la tapa inferior.
7. Inserte los cables eléctricos que salen del motor
a través de la varilla de soporte y conéctelos al
terminal de tornillo colocado en la parte superior
de la varilla de soporte.
8. Fije la varilla de soporte al motor con el pasador y
la tuerca del pasador. (Fig.6)
9. Cuelgue el ventilador en el gancho de la placa
de soporte y conecte el cable eléctrico que viene
del techo al terminal de tornillo colocado en la
parte superior de la varilla de soporte. Asegúrese
de que el receptor esté insertado en la placa de
soporte (consulte Conexión del control remoto).
10. Deslice hacia arriba la tapa superior y fíjela con el
tornillo. (Fig.7)
11. Deslice hacia abajo la tapa inferior, debe estar
apoyada por el motor. Fíjelo con el tornillo. (Fig.7)
12. Quite los tornillos de la placa de conexión del
motor. Organice todos los cables con cuidado en la placa de conexión.
13. Ensamble y alinee los oricios en la parte posterior de la luz LED con los tres tornillos en la placa de
conexión del motor. (Fig.8)
14. Luego, apriete los tres tornillos de la placa LED. Conecte el conector junto con el cable del motor.
Asegúrese de que el kit de luz no se pueda mover después de apretar los tornillos. (Fig.8)
15. Coloque la pantalla de la lámpara en el ventilador. (Fig.9)
Bekijk gratis de handleiding van Sogo SS-21825, stel vragen en lees de antwoorden op veelvoorkomende problemen, of gebruik onze assistent om sneller informatie in de handleiding te vinden of uitleg te krijgen over specifieke functies.
Productinformatie
| Merk | Sogo |
| Model | SS-21825 |
| Categorie | Ventilator |
| Taal | Nederlands |
| Grootte | 4962 MB |







