Handleiding
Je bekijkt pagina 8 van 76

8 español english français portuguese deutsch italiano
FUNCIONAMIENTO DEL CALEFACTOR
NOTA: Es normal, cuando los calefactores se encienden por primera vez o cuando se encienden después
de no haber sido utilizados durante un largo período de tiempo, pueden emitir algunos olores y humos. Esto
desaparecerá cuando el calefactor haya estado encendido por un corto tiempo.
CARACTERISTICAS:
1. Carcasa de plástico de alta calidad y larga vida útil.
2. Elementos calefactores de cerámica de PTC, calentamiento de alta eciencia, calentamiento rápido,
silencioso, sin olor, no contaminante, sin llama y no elimina el oxígeno.
3. Conguración de calor de dos niveles, puede organizar la temperatura según su preferencia.
4. Hay un fusible de temperatura por temor a sobrecalentamiento y protección contra sobrecalentamiento
del motor. Se apagará automáticamente cuando se bloquee la salida del aire y se volverá a encender
cuando se eliminen los artículos.
5. Viento natural / caliente para seleccionar. Podría cerrar el elemento calor en verano; El aparato podría
soplar viento fresco para la circulación del aire.
6. Termostato de seguridad. Protección contra el sobrecalentamiento.
7. Control remoto para facilitar la operación.
8. Ajustes de temporizador diarios y semanales.
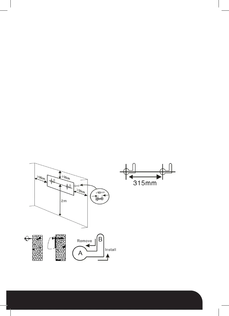
INSTALACIÓN
Taladre dos oricios en una pared y tenga una distancia de más de 2.0 m desde el suelo, el diámetro del
oricio como el contenido en el perno de expansión, que es de 6 mm. Después de que se haya metido el
perno de expansión, je el perno de expansión con un tornillo. Asegúrate de que el gancho esté insertado
en la parte inferior. Vea el dibujo como sigue para una mejor comprensión. (mire la foto). Utilice los compo-
nentes de la máquina (tornillos y tubo de expansión) jados en la pared como se muestra en la siguiente
gura, luego monte la máquina.
Nota: el peso máximo es de 4,1 kg, la pared debe poder cargar este peso.
1. La distancia entre el producto y el techo
(y el lado) debe ser ≥30cm.
2. Tamaño de instalación del producto: ver
Figura.
3. Nota: cuando se instala el producto, el
gancho (tornillo) se alinea con el oricio
“A” del producto. Después de colgar, se
debe mover a la “B” para que se pueda
jar rmemente.
4. Para retirar el producto de la pared, debe
moverse de “B” a “A”, luego retirarlo.
Bekijk gratis de handleiding van Sogo SS-18360, stel vragen en lees de antwoorden op veelvoorkomende problemen, of gebruik onze assistent om sneller informatie in de handleiding te vinden of uitleg te krijgen over specifieke functies.
Productinformatie
Merk | Sogo |
Model | SS-18360 |
Categorie | Heater |
Taal | Nederlands |
Grootte | 8781 MB |