Smeg WNP84SEAIN1 handleiding
Handleiding
Je bekijkt pagina 16 van 40

EN / 16
• Tough stains must be treated properly
before washing.
• Wash trousers and delicate laundry
turned inside out.
• Laundry that are subjected to materials
such as flour, lime dust, milk powder, etc.
intensely must be shaken off before pla-
cing into the product. Such dusts and
powders on the laundry may build up on
the inner parts of the product in time and
can cause damage.
5.3 Tips for Energy and Water Saving
The following information will help you use
the product in an ecological and energy/
water-saving way.
• Operate the at the maximum load capa-
city for the programme selected, but do
not overload it. See "Programme and
consumption table".
• Follow the temperature recommenda-
tions on the detergent packaging.
• Wash your lightly soiled laundry at low
temperatures.
• Choose quick programmes for lightly
soiled and small amounts of laundry.
• Do not use prewash or high temperatures
for laundry that is not heavily dirty or
stained.
• If you are going to dry your laundry in the
dryer, select the highest spin speed re-
commended for your washing pro-
gramme.
• Do not use more detergent than recom-
mended on the detergent packaging.
5.4 Loading the Laundry
1. Open the loading door.
2. Put the laundry items into the product in
a loose manner.
3. Push the loading door to close until you
hear a locking sound. Ensure that no
items are caught in the door. The load-
ing door is locked while a programme is
running. The door lock will open once
the programme is completed. Then you
can open the loading door. If the door
does not open, apply the solutions
provided for “Loading door cannot be
opened” error in the Troubleshooting
section.
5.5 Correct Load Capacity
The maximum load capacity depends on
the type of laundry, the degree of soiling
and the desired washing programme.
The product automatically adjusts the wa-
ter amount according to the weight of the
laundry put inside it.
Follow the instructions in “Pro-
gramme and consumption table”.
When the product is overloaded
product’s washing performance will
drop. Moreover, noise and vibration
problems may occur.
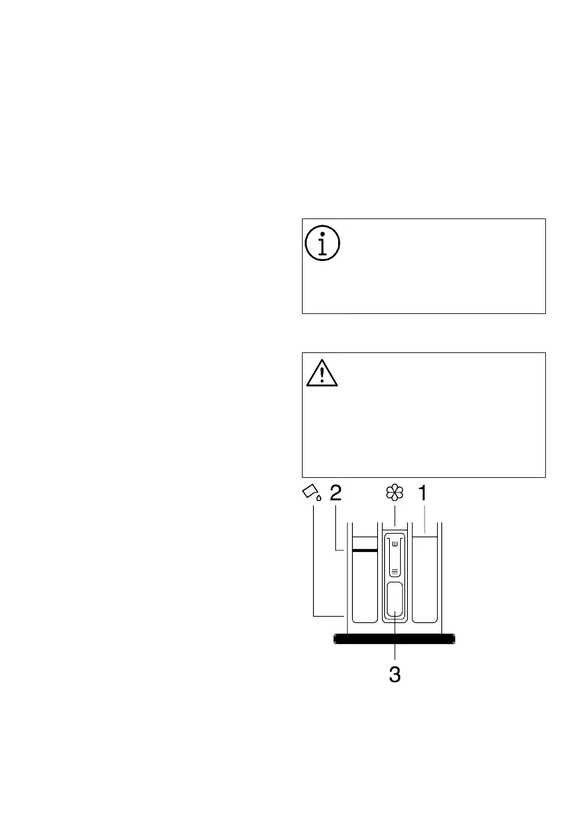
5.6 Using Detergent and Softener
WARNING
Read the manufacturer's instruc-
tions on the packaging when using
detergents, softeners, starch,
bleach and decolourants, anti-lime
scale and follow the dosage inform-
ation provided. Use a measuring
cup, if any.
The detergent drawer comprises of three
compartments:
(1) for prewash - if your model has prewash
function available,
(2) for main washing,
(3) for softener,
Bekijk gratis de handleiding van Smeg WNP84SEAIN1, stel vragen en lees de antwoorden op veelvoorkomende problemen, of gebruik onze assistent om sneller informatie in de handleiding te vinden of uitleg te krijgen over specifieke functies.
Productinformatie
| Merk | Smeg |
| Model | WNP84SEAIN1 |
| Categorie | Wasmachine |
| Taal | Nederlands |
| Grootte | 3321 MB |




