Shimano SW-E8000-L handleiding

68 pagina's
PDF beschikbaar

Handleiding

Je bekijkt pagina 23 van 68
21
EW-EN100
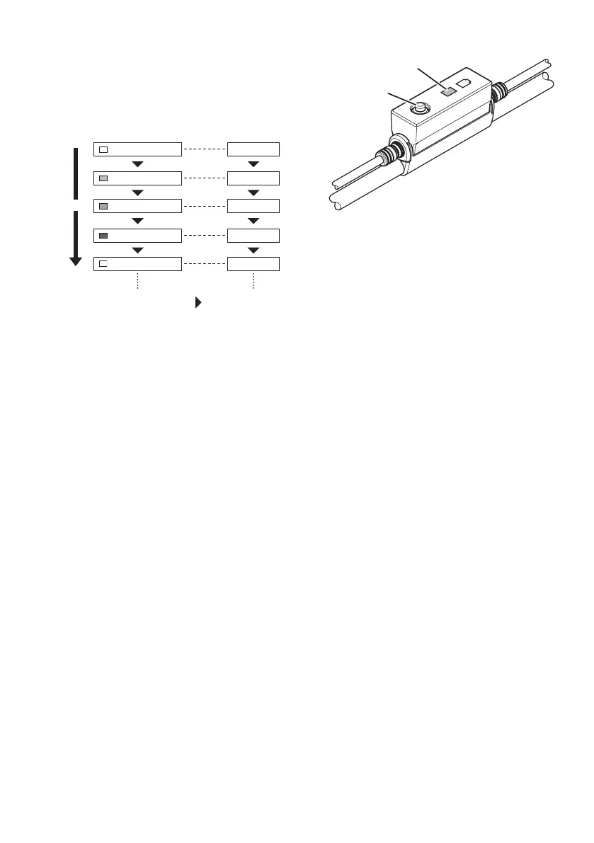
1.
Druk op de knop.
Bekrachtigingsmodus wordt gewijzigd telkens u erop
drukt.
De LED1 geeft de huidige bekrachtigingsmodus aan.
UIT
Brandt lichtblauw
Brandt groen
Brandt geel
UIT
[UIT]
[ECO]
[TRAIL]
[BOOST]
[UIT]
LED1-indicaties Bekrachtigingsmodus
Knop
Druk op de knop
Knop
LED1

Bekijk gratis de handleiding van Shimano SW-E8000-L, stel vragen en lees de antwoorden op veelvoorkomende problemen, of gebruik onze assistent om sneller informatie in de handleiding te vinden of uitleg te krijgen over specifieke functies.

Productinformatie

MerkShimano
ModelSW-E8000-L
CategorieNiet gecategoriseerd
TaalNederlands
Grootte5066 MB