Handleiding
Je bekijkt pagina 21 van 173

English - 19
(3)
Check the evenness using a spirit level or a laser line level and the alignment bars together. Adjust the
positions if required.
Wall mounted: Mounting bar installation (4 x 4 frame set)
M10 screws
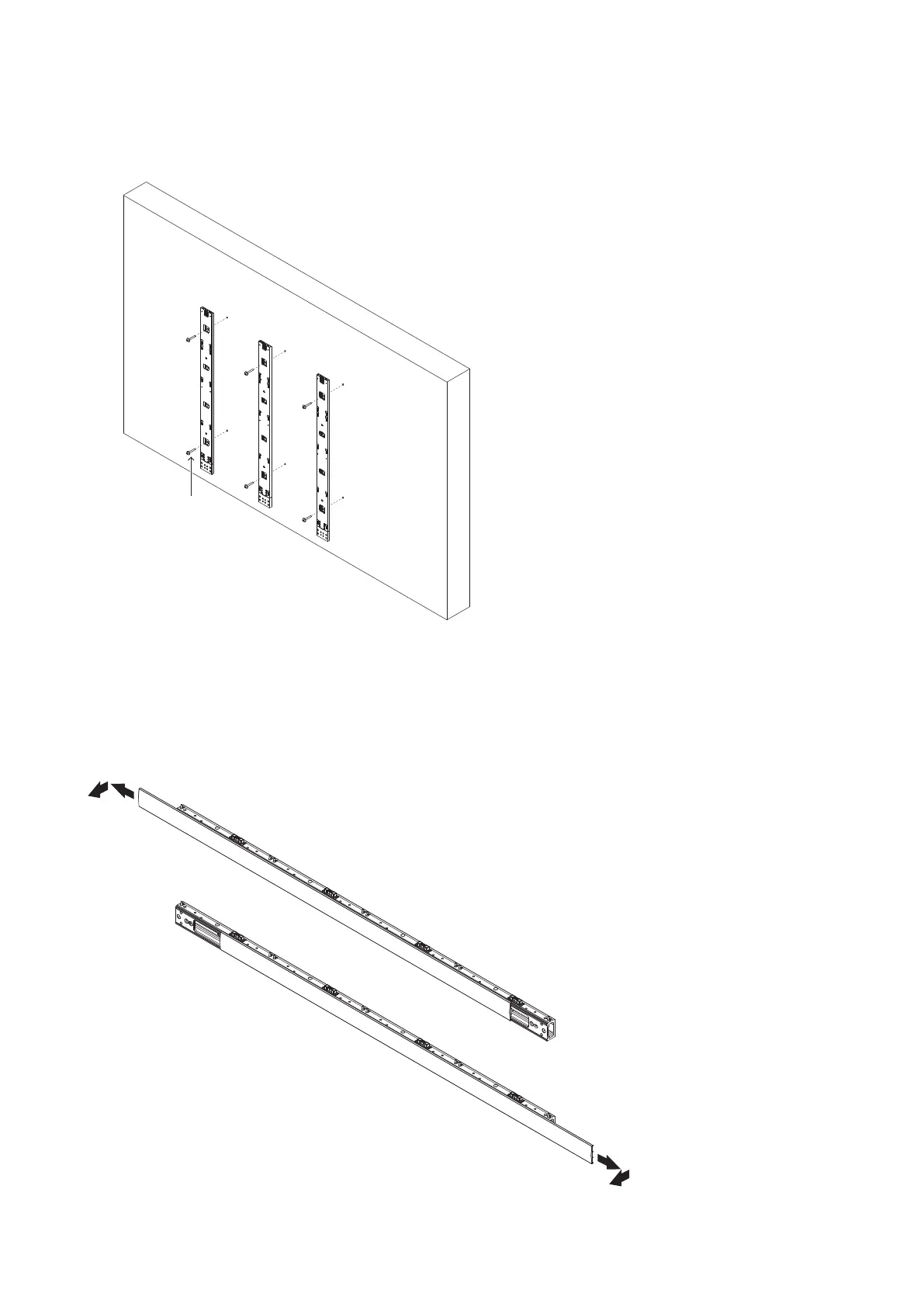
7. Install the power bar
Remove the power bar cover and install the power bar using Power bar screw (M8) screws.
How to remove the power bar cover
Sliding the power bar cover for removing. Power bar cover can slide left or right.
Bekijk gratis de handleiding van Sharp LD-FE193, stel vragen en lees de antwoorden op veelvoorkomende problemen, of gebruik onze assistent om sneller informatie in de handleiding te vinden of uitleg te krijgen over specifieke functies.
Productinformatie
| Merk | Sharp |
| Model | LD-FE193 |
| Categorie | Monitor |
| Taal | Nederlands |
| Grootte | 29643 MB |







