Handleiding
Je bekijkt pagina 102 van 121

IT - 1
1
2. INSTALLAZIONE E
PERICOLO: questo apparecchio deve
essere installato dal servizio di
assistenza tecnica autorizzato o da un
tecnico qualificato, secondo le istruzioni
contenute in questo manuale e in
conformità con le normative locali vigenti
• L'installazione non corretta può causare
danni e lesioni per i quali il produttore
non si assume alcuna responsabilità e
invalidare la garanzia.
• Prima dell'installazione, assicurarsi
che le condizioni di distribuzione locali
(tensione e frequenza elettrica) e le
regolazioni dell'apparecchio siano
compatibili. Le condizioni relative alla
regolazione di questo apparecchio sono
indicate sull'etichetta.
• Devono essere rispettate le leggi,
le ordinanze, le direttive e le norme
vigenti nel paese di utilizzo (norme di
sicurezza, riciclaggio appropriato in
conformità alle normative, ecc.).
• Se il prodotto contiene guide scaffale
amovibili (rastrelliere metalliche) e il
manuale utente include ricette quali
yogurt, le rastrelliere metalliche devono
essere rimosse e il forno azionato nella
modalità di cottura definita. Informazioni
sulla rimozione dello scaffale metallico
sono incluse nella sezione PULIZIA E
MANUTENZIONE.
2.1
Istruzioni generali
• Dopo aver rimosso il materiale di
imballaggio dall'apparecchio e dai suoi
accessori, assicurarsi che l'apparecchio
non sia danneggiato. Se si sospetta
un qualsiasi danno, non utilizzarlo e
contattare immediatamente il servizio
di assistenza tecnica autorizzato o un
tecnico qualificato.
• Assicurarsi che non vi siano materiali
infiammabili o combustibili nelle
immediate vicinanze, come tende, olio,
panni ecc. che potrebbero incendiarsi.
• Il piano di lavoro e i mobili che
circondano l'apparecchio devono essere
realizzati con materiali resistenti a
temperature superiori a 100° C.
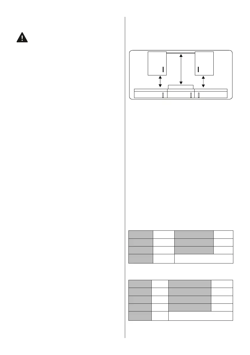
• Se una cappa o un mobile da cucina
devono essere installati sopra
l'apparecchio, la distanza di sicurezza
tra il piano cottura e qualsiasi mobile/
cappa deve essere come mostrato nella
figura seguente.
PIANO COTTURA
Min.
42 cm
Min.
42 cm
Min. 65 cm
(con cappa)
Min. 70 cm
(senza cappa)
• L'apparecchio non deve essere
installato direttamente sopra
una lavastoviglie, un frigorifero,
un congelatore, una lavatrice o
un'asciugatrice.
• Il forno deve avere una ventola di
raffreddamento.
• Assicurarsi che il piano di cottura
a induzione sia ben ventilato e che
l'ingresso e l'uscita dell'aria non siano
ostruiti.
2.2
Gli apparecchi vengono forniti con kit di
installazione e possono essere installati
su un piano di lavoro con dimensioni
appropriate.
Di seguito sono riportate le dimensioni per
l'installazione di piano cottura e forno.
Dimensioni di installazione per il piano
cottura
A1 (mm) 590 E1 (mm) 490
B1 (mm) 520 F1 min. (mm) 50
C1 (mm) 54 G1 min. (mm) 50
D1 (mm) 560
Dimensioni di installazione per il forno
A2 (mm) 557 E2 (mm) 574
B2 (mm) 550 F2 min. (mm) 560-580
C2 (mm) 595 G2 /J2 min. (mm) 555/5
D2 (mm) 575 H2 (mm) 600
I2(mm) 38
Bekijk gratis de handleiding van Sharp K-T2P51BMH-EU, stel vragen en lees de antwoorden op veelvoorkomende problemen, of gebruik onze assistent om sneller informatie in de handleiding te vinden of uitleg te krijgen over specifieke functies.
Productinformatie
| Merk | Sharp |
| Model | K-T2P51BMH-EU |
| Categorie | Fornuis |
| Taal | Nederlands |
| Grootte | 10743 MB |







