Sealer Sales FKR-300A handleiding

16 pagina's
PDF beschikbaar

Handleiding

Je bekijkt pagina 14 van 16
F K R - A I N S T R U C T I O N M A N U A L
12
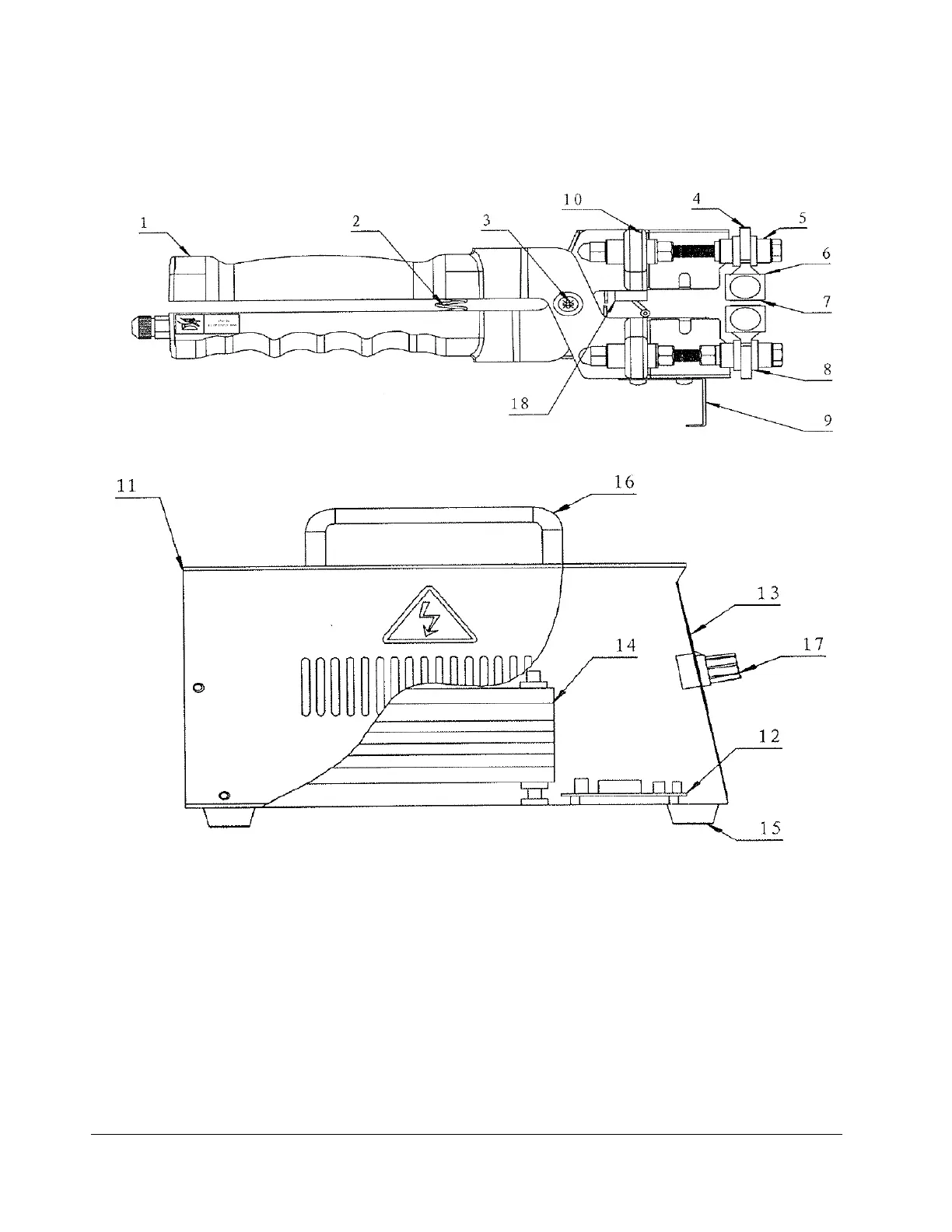
Figure 7. Spare Parts Diagram Overview

Bekijk gratis de handleiding van Sealer Sales FKR-300A, stel vragen en lees de antwoorden op veelvoorkomende problemen, of gebruik onze assistent om sneller informatie in de handleiding te vinden of uitleg te krijgen over specifieke functies.

Productinformatie

MerkSealer Sales
ModelFKR-300A
CategorieNiet gecategoriseerd
TaalNederlands
Grootte2691 MB