Schneider Rhodos Grande handleiding
Handleiding
Je bekijkt pagina 150 van 182

150
RO
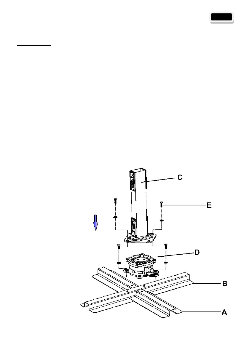
Montaj
Ambele părţi ale suportului cu plăci (A + B) se asamblează conform figurii
şi se înşurubează ferm împreună cu placa rotativă (D).
În acest scop vă rugăm să utilizaţi şuruburile M8x20 (F) şi pentru fiecare
şurub câte o şaibă (G).
Apoi suportul tubular (C) se înşurubează cu placa rotativă (D).
În acest scop vă rugăm să utilizaţi şuruburile M8x14 (E) şi pentru fiecare
şurub câte o şaibă (G).
INDICAŢIE:
Suportul tubular este înclinat spre spate cu 3°.
Acest lucru este corect şi nu reprezintă un
motiv de reclamaţie.
Prin această înclinare se evită ca la umbrela
deschisă tija acesteia să atârne în faţă şi
conferă umbrelei un aspect armonios.
Bekijk gratis de handleiding van Schneider Rhodos Grande, stel vragen en lees de antwoorden op veelvoorkomende problemen, of gebruik onze assistent om sneller informatie in de handleiding te vinden of uitleg te krijgen over specifieke functies.
Productinformatie
| Merk | Schneider |
| Model | Rhodos Grande |
| Categorie | Niet gecategoriseerd |
| Taal | Nederlands |
| Grootte | 19194 MB |







