Handleiding
Je bekijkt pagina 27 van 30

Español - 13
7. Instalación del televisor
Instalación del televisor en la pared
Si instala este televisor en una pared, siga exactamente las instrucciones establecidas por el
fabricante. A menos que se instale correctamente, el televisor puede deslizarse o caerse y provocar
lesiones graves a niños o adultos y daños importantes al televisor.
P
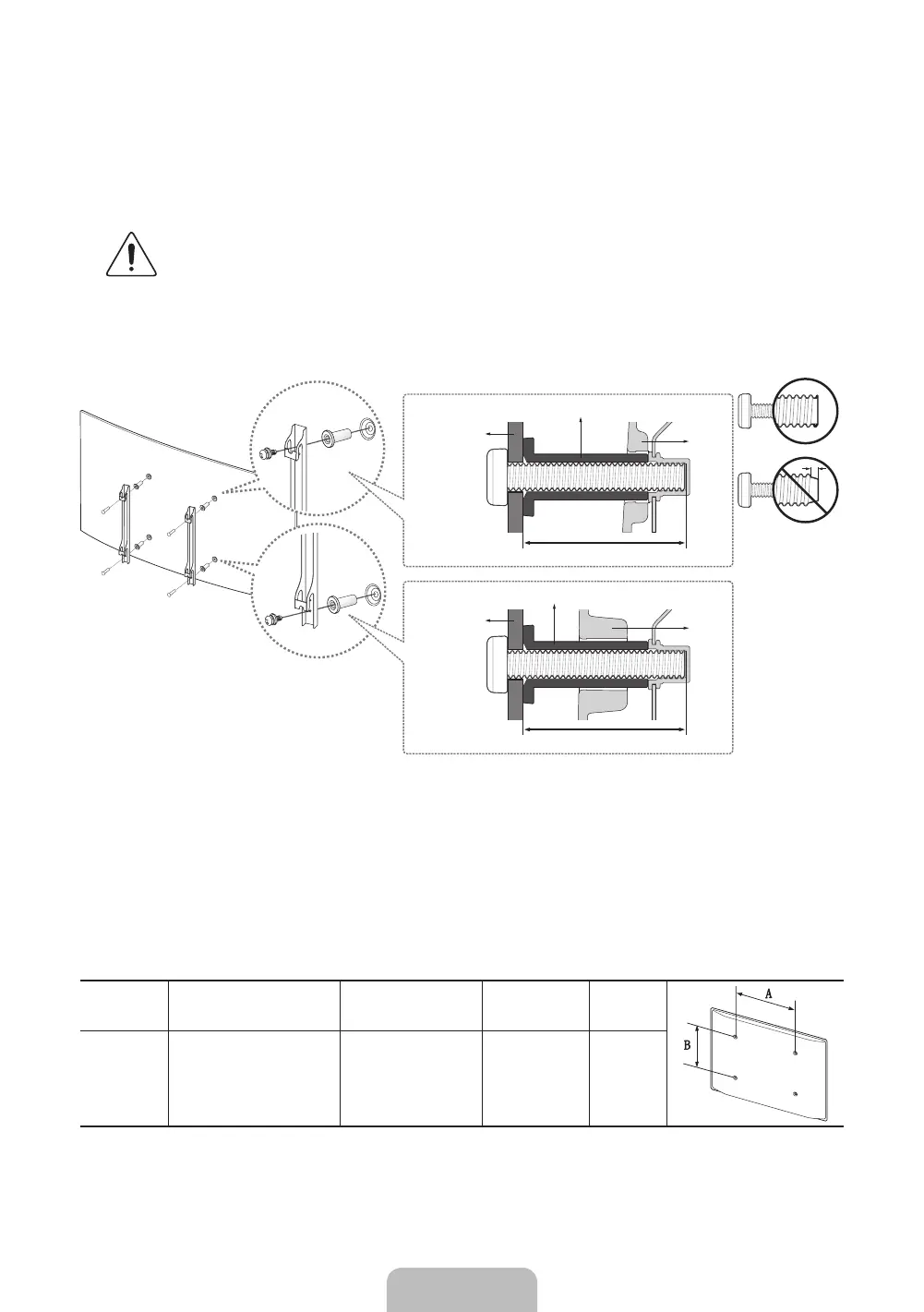
aramodelosquesuministranadaptadoresparaelsoportedepared,instáleloscomosemuestraenlagurasiguiente
antes de instalar el soporte de pare
d.
N Consulte el manual de instalación provisto con el soporte de pared Samsung.
TV
TV
C
C
Soporte del
montaje de
pared
Soporte del
montaje de
pared
Adaptador del montaje de pared
Adaptador del montaje de pared
S
amsung Electronics no se hace responsable de los daños causados al producto o al usuario si se ha optado por instalar
el montaje de pared por su cuenta.
Para solicitar un kit de montaje de pared, comuníquese con el Centro de atención al cliente de Samsung.
Puede instalar el soporte de pared en una pared sólida, perpendicular al suelo. Antes de conectar el soporte de pared
asuperciesdistintasdeunaplacadeyeso,comuníqueseconsudistribuidormáscercanoparaobtenerinformación
adicional. Si instala el televisor en el techo o en una pared inclinada, puede caer y causar graves lesiones personales.
Las dimensiones estándar de los soportes de pared se muestran en la tabla que sigue.
S
i instala un soporte de pared de terceros, tenga en cuenta que la longitud de los tornillos que puede usar para ajustar
el televisor en el soporte se muestra en la columna C de la siguiente tabla.
Tamaño del
televisor en
pulgadas
Especicacionesdeoricios
de tornillos VESA (A x B) en
milímetros
C (mm) Tornillo estándar Cantidad
78 600 x 400 43 – 45 M8 4
KU6500_ZX_BN68-07921L-00_L02.indb 13 2016-06-29 �� 10:34:55
Bekijk gratis de handleiding van Samsung UN78KU6500F, stel vragen en lees de antwoorden op veelvoorkomende problemen, of gebruik onze assistent om sneller informatie in de handleiding te vinden of uitleg te krijgen over specifieke functies.
Productinformatie
| Merk | Samsung |
| Model | UN78KU6500F |
| Categorie | Televisie |
| Taal | Nederlands |
| Grootte | 3294 MB |







