Handleiding
Je bekijkt pagina 23 van 62

English 23
Operations
5. When done, press the Dial Knob to
confirm.
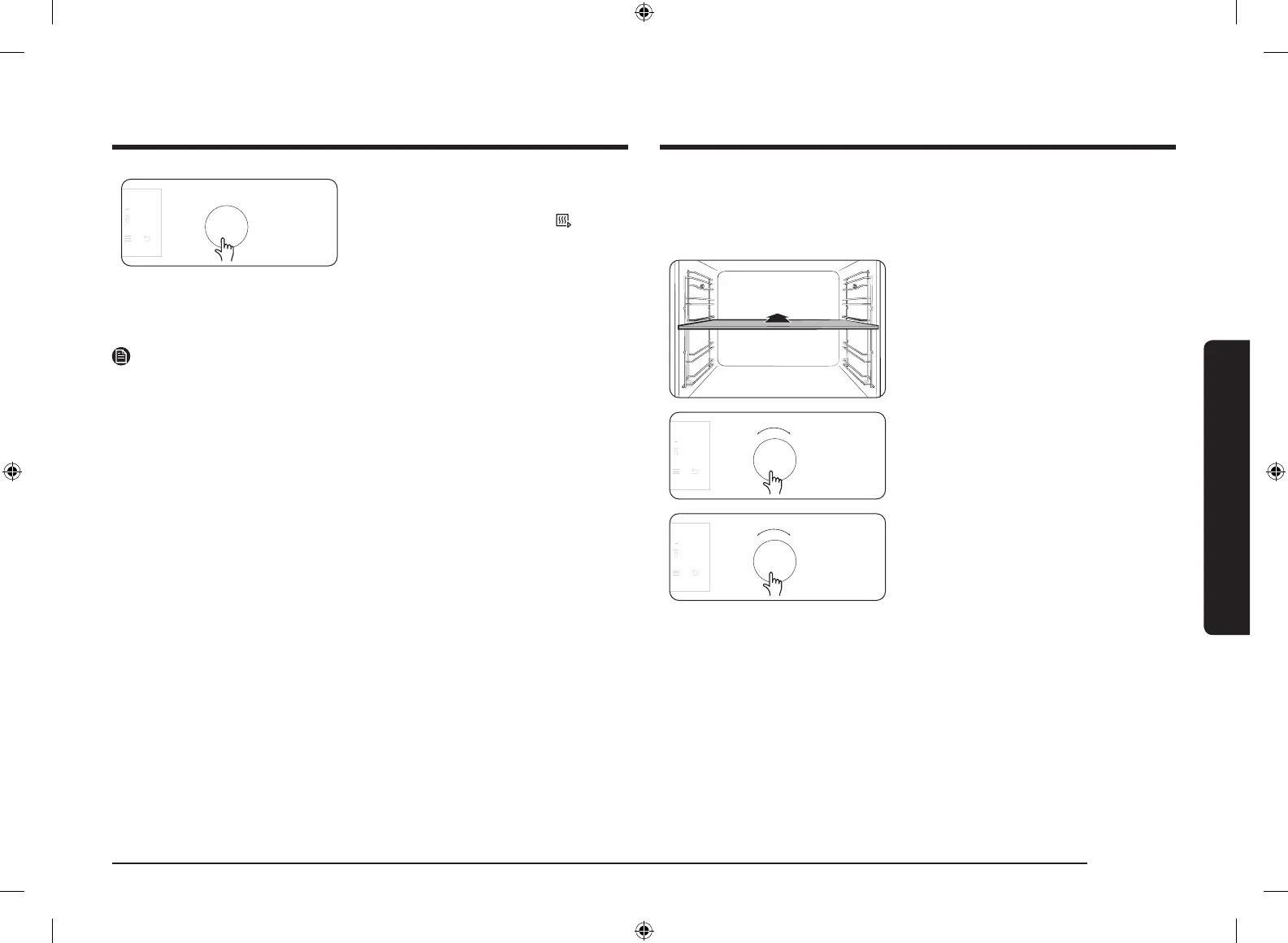
The oven starts preheating with icon
until the internal temperature reaches the
set temperature.
Preheating is recommended for all cooking
modes unless otherwise specified in the
cooking guide.
NOTE
Availability of Dual cook mode depends on the cooking mode. For more
information, see the Cooking smart section in this manual.
Dual cook mode (Grill mode)
Grilling with Dual cook mode is useful for small serving sizes to save power. By
default, only the Large grill option in the upper zone is available because the oven
uses only the top heating element.
1. Insert the divider in level 3 to activate
Dual cook mode.
2. Turn the Dial Knob to select Large Grill,
and then press the Dial Knob to confirm.
- Eco Grill and Fan Grill is not available in
Dual cook mode.
3. Turn the Dial Knob to set the desired
temperature, and then press the Dial
Knob to confirm.
FULL MANUAL_NV7B5765XAK_U4_DG68-01412D-00_EN.indd 23FULL MANUAL_NV7B5765XAK_U4_DG68-01412D-00_EN.indd 23 2022-04-19 오후 4:59:442022-04-19 오후 4:59:44
Bekijk gratis de handleiding van Samsung NV7B5665WAK, stel vragen en lees de antwoorden op veelvoorkomende problemen, of gebruik onze assistent om sneller informatie in de handleiding te vinden of uitleg te krijgen over specifieke functies.
Productinformatie
Merk | Samsung |
Model | NV7B5665WAK |
Categorie | Oven |
Taal | Nederlands |
Grootte | 9854 MB |
Caratteristiche Prodotto
Apparaatplaatsing | Ingebouwd |
Soort bediening | Rotary, Touch |
Vermogen grill | 1600 W |
Kleur van het product | Zwart |
Deurscharnieren | Neer |