Samsung AP50M0AN2 handleiding
Handleiding
Je bekijkt pagina 10 van 54

10
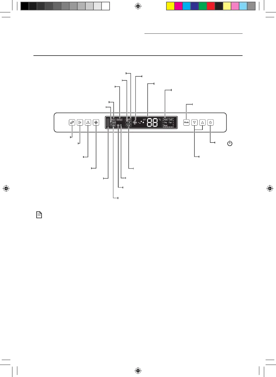
Viewing your air conditioner
Control panel
You can operate the air conditioner with the control panel when you can’t or don’t want to operate the air conditioner with
the remote controller. (see pages 21.)
Air swing (Up/Down) button
Turbo button
Fan speed indicator
Air swing (Left/Right)
button
Fan speed adjustment button
Temperature
adjustment buttons
Power
button
Timer indicator
Defrost indicator
( Defrost is applicable for AP50M1✴ model only)
S.Saver indicator
Outdoor unit operation indicator
Turbo indicator
Air swing (Left/Right) indicator
Air swing (Up/Down) indicator
Long function indicator
Lock indicator
Temperature setting
Operation mode indicators
(Heat is applicable for AP50M1✴ model only)
Mode selection button
Remote controller receiver
Heater and Purity function is not supported by this model.
NOTE
Mirage_AP50M0@_IBIM_EN_05323A-02.indd 10 2016-05-19 오후 1:27:11
Bekijk gratis de handleiding van Samsung AP50M0AN2, stel vragen en lees de antwoorden op veelvoorkomende problemen, of gebruik onze assistent om sneller informatie in de handleiding te vinden of uitleg te krijgen over specifieke functies.
Productinformatie
| Merk | Samsung |
| Model | AP50M0AN2 |
| Categorie | Niet gecategoriseerd |
| Taal | Nederlands |
| Grootte | 5676 MB |







