Rowenta Eole Crystal VU6520 handleiding
Handleiding
Je bekijkt pagina 8 van 73

1 hour 2 hours 4 hours 8 hours
STOP
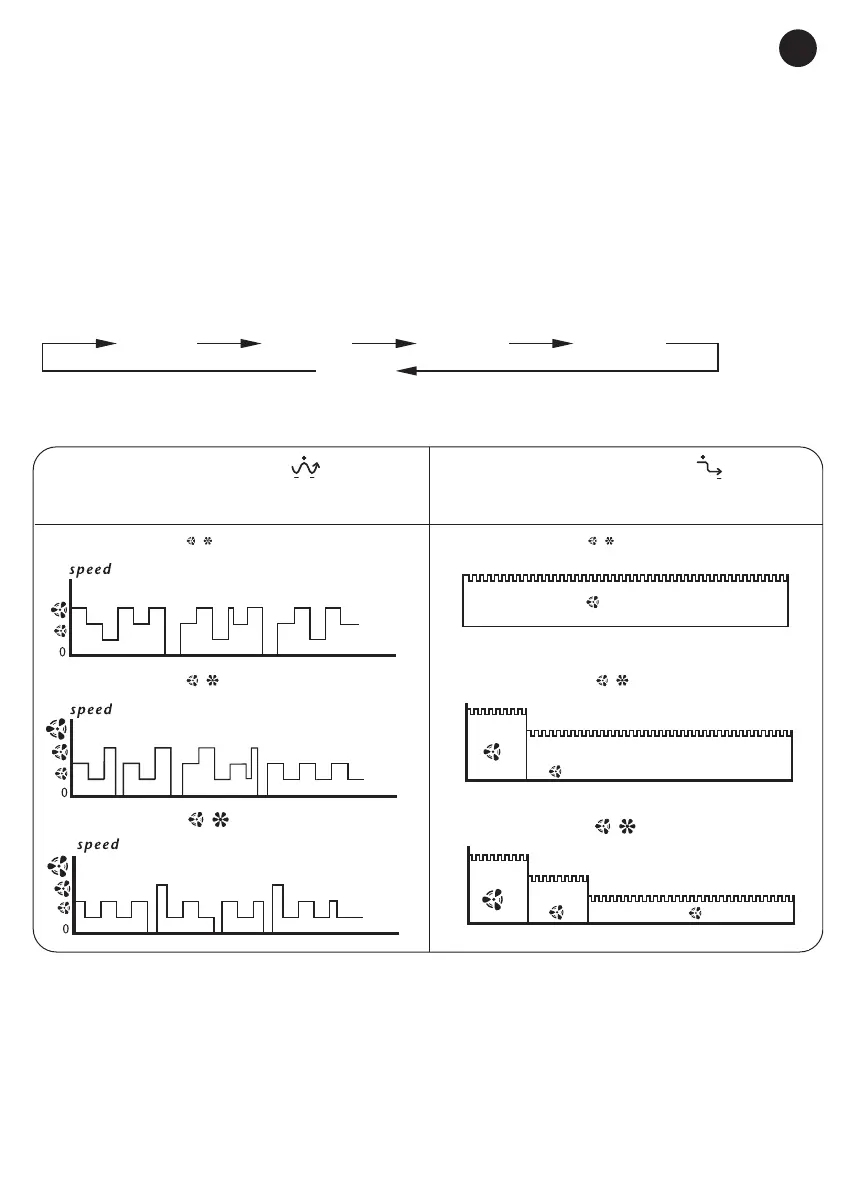
VARIATION : REDUCTION :
Random speed cycles (90-second cycles) + Random speed cycles (90-second cycles) +
Speed steps down every 30 minutes
Pre-select speed
Pre-select speed
Pre-select speed
VARIATION speed
0
Pre-select speed
Pre-select speed
variation
speed
variation
speed
0
30min.
Pre-select speed
variation
speed
variation speed
variation
speed
030min. 60min.
/
/
/
/
/
/
5
GB
The "A" "B" and "C" buttons described below are only operational once the appliance has
been turned on and can be used simultaneously (see page 2).
• "A" button, oscillation control:
- Press the "A" button once, the fan oscillates horizontally.
- To stop the oscillation function, press the "A" button again.
• "B" button, set automatic appliance shutdown:
You have 4 choices, 1-, 2-, 4- or 8-hour operating time.
- Press the "B" button once; the 1-hour timer is activated and the 1h indicator comes on.
- Press the "B" button a second time; the 2-hour timer is activated and the 2h indicator comes on.
- Press the "B" button a third time; the 4-hour timer is activated and the 4h indicator comes on.
- Press the "B" button a fourth time; the 8-hour timer is activated and the 8h indicator comes on.
- To stop the "TIMER" function, press the "B" button again.
• "C" button, set VARITION or REDUCTION mode
VU6520-25-50-55_NC00009748.qxd:NC00009748 15/12/08 16:55 Page 5
Bekijk gratis de handleiding van Rowenta Eole Crystal VU6520, stel vragen en lees de antwoorden op veelvoorkomende problemen, of gebruik onze assistent om sneller informatie in de handleiding te vinden of uitleg te krijgen over specifieke functies.
Productinformatie
Merk | Rowenta |
Model | Eole Crystal VU6520 |
Categorie | Niet gecategoriseerd |
Taal | Nederlands |
Grootte | 8505 MB |