Rowenta Artik Ionic VU9020 handleiding
Handleiding
Je bekijkt pagina 7 van 30

GB
OPERATION
The " B" "C" "D" and "F" buttons described below are only operational once the appliance
has been turned on and can be used simultaneously.
• "C" button, oscillation control:
- Press the "C" button once, the fan oscillates horizontally.
- To stop the oscillation function, press the "C" button again.
• "D" button, set automatic appliance shutdown:
You have 3 choices, 1-, 2- or 4-hour operating time.
- Press the "D" button once; the 1-hour timer is activated and the 1h indicator comes on.
- Press the "D" button a second time; the 2-hour timer is activated and the 2h indicator comes on.
- Press the "D" button a third time; the 4-hour timer is activated and the 4h indicator comes on.
- To stop the "TIMER" function, press the "D" button again.
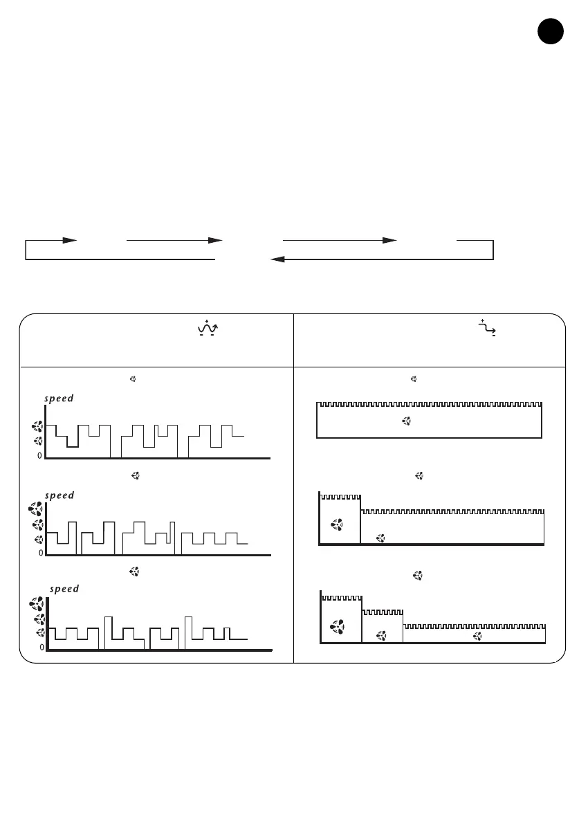
• "B" button, select REDUCTION mode or VARIATION mode:
1 hour 2 hours 4 hours
S
TO
P
VARIATION : REDUCTION :
Random speed cycles (90-second cycles) + Random speed cycles (90-second cycles) +
Speed steps down every 30 minutes
Pre-select speed
Pre-select speed
Pre-select speed
VARIATION speed
0
Pre-select speed
Pre-select speed
variation
speed
variation
speed
0
30min.
Pre-select speed
variation
speed
variation speed
variation
speed
030min. 60min.
NC00002665 VU9020 26/06/07 10:26 Page 7
Bekijk gratis de handleiding van Rowenta Artik Ionic VU9020, stel vragen en lees de antwoorden op veelvoorkomende problemen, of gebruik onze assistent om sneller informatie in de handleiding te vinden of uitleg te krijgen over specifieke functies.
Productinformatie
Merk | Rowenta |
Model | Artik Ionic VU9020 |
Categorie | Niet gecategoriseerd |
Taal | Nederlands |
Grootte | 2508 MB |