Rothenberger ROGROOVER 1-12 handleiding
Handleiding
Je bekijkt pagina 22 van 56

20 ENGLISH
Attach an expansion bolt in the ground below the machine and, using an adjustable hook, attach
the table to the ground bolt.
Attach the tube support to the ground using three bolts.
Examine the upper roller and the lathe screw to ensure that the size is correct.
Ensure that the machine shaft and the tube support are perfectly aligned.
The tube ends must be cut in a right angle. Do not use a blowpipe to cut the tube. The tube must
not be insufficiently round.It is necessary to grind all the welding seams, sealants and other inte-
rior or exterior seams flush in the tube over a length of at least 55 mm from the end.
3.4 Tube assembly
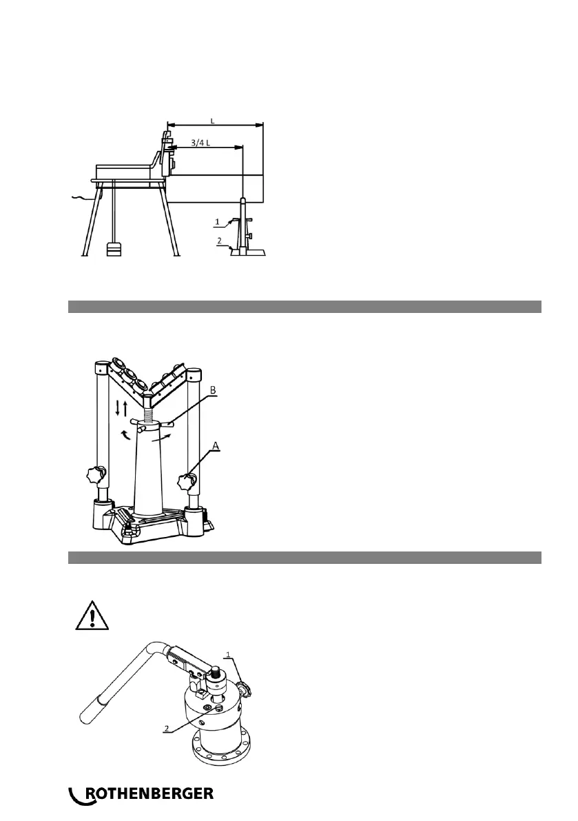
The tubes must be supported using a tube support. The tube support must be positioned at 3⁄4
of the tube length from the grooving machine.
Loosen the knobs of the spindle (A) by turning
anticlockwise.
Take the lath screw wheel (B), turn it and adjust
the tube to the knurling measurement.
Support the tube in the lathe screw and buffer
against the machine.
Adjust the height of the tube ensuring that it is
completely horizontal. If required use a spirit
level. Once adjusted, the tube locks the support
by turning the levers clockwise and fixes the
position
3.5 Adjustment of the knurling depth
Given the variable characteristics of the tubes, a test groove must always be performed when
switching on the machine or if there is a change of tube for one of a different size.
Valve (1) must be open!
Place the pipe on the drive shaft. Pump until
the upper roller touches the pipe. DO NOT
APPLY FORCE.
Turn the nut (3) until it makes contact with the
surface (4).
Unscrew the nut (3) in an anticlockwise direc-
tion until it has been withdrawn the distance of
the groove depth “C” (see table). Each division
of the nut corresponds to 0.1 mm and a full turn
with a groove depth of 2.5 mm.
Bekijk gratis de handleiding van Rothenberger ROGROOVER 1-12, stel vragen en lees de antwoorden op veelvoorkomende problemen, of gebruik onze assistent om sneller informatie in de handleiding te vinden of uitleg te krijgen over specifieke functies.
Productinformatie
| Merk | Rothenberger |
| Model | ROGROOVER 1-12 |
| Categorie | Niet gecategoriseerd |
| Taal | Nederlands |
| Grootte | 7079 MB |





