Rothenberger ROGROOVER 1-12 handleiding
Handleiding
Je bekijkt pagina 10 van 56

8 DEUTSCH
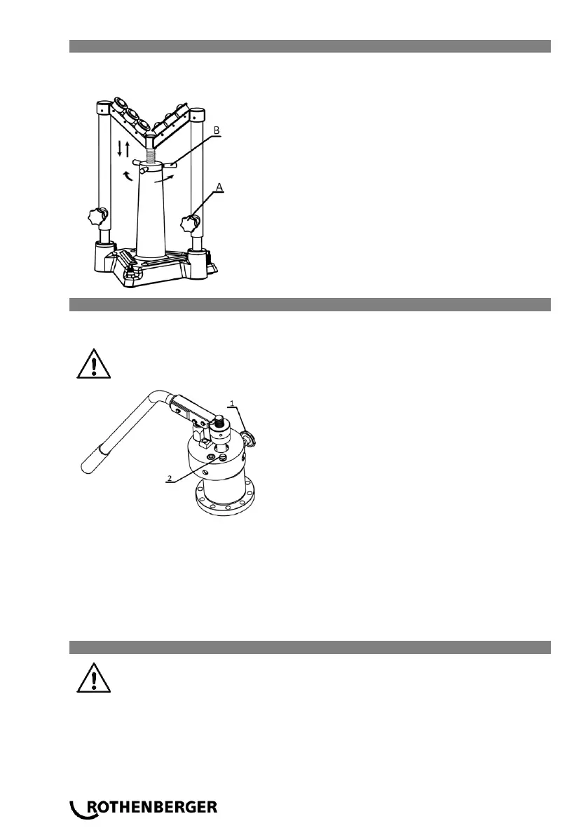
3.4 Montage des Rohres
Die Rohre müssen mit Hilfe eines Rohrträgers abgestützt werden. Der Rohrträger muss auf 3⁄4-
Höhe der gesamten Rohrlänge von der Rollnut-Maschine aus positioniert werden.
Lockern Sie die Spindelgriffe (A) durch Drehen
gegen den Uhrzeigersinn.
Stellen Sie das Rohr durch Drehen des Rades
(B) der Zentrierschraube auf das richtige Maß
ein.
Stützen Sie das Rohr mittels der Zentrier-
schraube und legen Sie es auf die Antriebswel-
le.
Justieren Sie die Höhe des Rohres und stellen
Sie dabei sicher, dass dieses vollständig hori-
zontal ist. Falls nötig, verwenden Sie hierzu ei-
ne Wasserwaage. Nach dem Einstellen arretie-
ren Sie den Rohrauflageständer durch drehen
der Hebel A im Uhrzeigersinn und fixieren so
die Positionshöhe
3.5 Justierung der Nuttiefe
Aufgrund der unterschiedlichen Eigenschaften der Rohre muss in jedem Fall eine Test-Nut er-
zeugt werden, um die richtige Nuttiefe einzustellen.
Ventil (1) muss offen sein!
Das Rohr auf die Antriebswelle legen. Handgriff
(10) gegen Einstellschraube (3) drücken, bis
Druckrolle kontakt mit dem Rohr hat, Ventil (1)
jetzt schließen. Notfalls noch einmal Pumpen
bis Druckrolle das Rohr gespannt hat.
Einstellschraube (3) auf Oberfläche des Pum-
pengehäuse (4) drehen.
Einstellschraube (3) gegen den Uhrzeigersinn
drehen, bis die Nuttiefe (C) - siehe Tabelle an
Maschine. erreicht wird. Jeder Teilstrich der
Einstellschraube (3) entspricht 0,1 mm, eine
vollständige Umdrehung entspricht 2,5mm Nut-
tiefe.
Maschine starten, nicht kontinuierlich pumpen, sondern warten, bis das Rohr bei jedem
Pumpvorgang drei Umdrehungen durchgeführt hat. Wenn die Stellmutter den Hydraulikzy-
linder berührt, Pumpen stoppen und die Maschine weiterlaufen lassen, bis das Rohr drei
Umdrehungen durchgeführt hat. Maschine stoppen, Zylinder-Absperrventil (1) öffnen, damit
der Hydraulikzylinder hochfahren kann, und das Rohr entnehmen und Nuttiefe mit Maßband
überprüfen.
3.6 Betrieb der Rollnut-Maschine
Die Dicke des Rohres darf die eingangs erwähnten Höchstwerte von 10mm
nicht überschreiten!
Drücken Sie, nachdem Sie das Zylinderventil (2) durch Drehen im Uhrzeigersinn geschlos-
sen haben, den Schalter und lassen Sie die Maschine leer laufen, um sicherzugehen, dass
sie korrekt funktioniert.
Handgriff (10)
Bekijk gratis de handleiding van Rothenberger ROGROOVER 1-12, stel vragen en lees de antwoorden op veelvoorkomende problemen, of gebruik onze assistent om sneller informatie in de handleiding te vinden of uitleg te krijgen over specifieke functies.
Productinformatie
Merk | Rothenberger |
Model | ROGROOVER 1-12 |
Categorie | Niet gecategoriseerd |
Taal | Nederlands |
Grootte | 7079 MB |