Roblin PIANO REC handleiding
Handleiding
Je bekijkt pagina 9 van 100

9
le recyclage des composants élec-
triques et électroniques. Assurez-vous
que cet appareil a été éliminé correcte-
ment, vous participerez ainsi à prévenir
les conséquences potentiellement né-
gatives pour l'environnement et pour la
santé pouvant découler d’une d’élimina-
tion inappropriée. Pour des informations
plus détaillées sur la manière de recy-
cler ce produit, veuillez contacter votre
municipalité, votre déchetterie locale ou
le magasin où vous avez acheté ce pro-
duit.
Cet appareil est conforme à la directive
2012/19/UE concernant la réduction
des substances dangereuses utilisées
dans les appareils électriques et élec-
troniques et l’élimination des déchets.
Élimination des matériaux d’embal-
lage
Les matériaux marqués du symbole
sont recyclables. Jeter l’emballage dans
les conteneurs à déchets spécialement
prévus pour leur recyclage.
Économie d’énergie
Les conseils ci-après vous permettront
d’économiser quotidiennement de
l’énergie durant la cuisson.
• Lors du chauffage de l’eau, utiliser
uniquement la quantité nécessaire.
• Si possible, toujours couvrir les cas-
seroles avec leur couvercle.
• Bien mettre en place la casserole
avant d’activer la zone de cuisson.
• Utiliser les zones de cuisson plus pe-
tites pour les petites casseroles.
• Placer les casseroles directement au
centre de la zone de cuisson.
• Utiliser la chaleur résiduelle pour gar-
der chauds les aliments ou pour les
faire fondre.
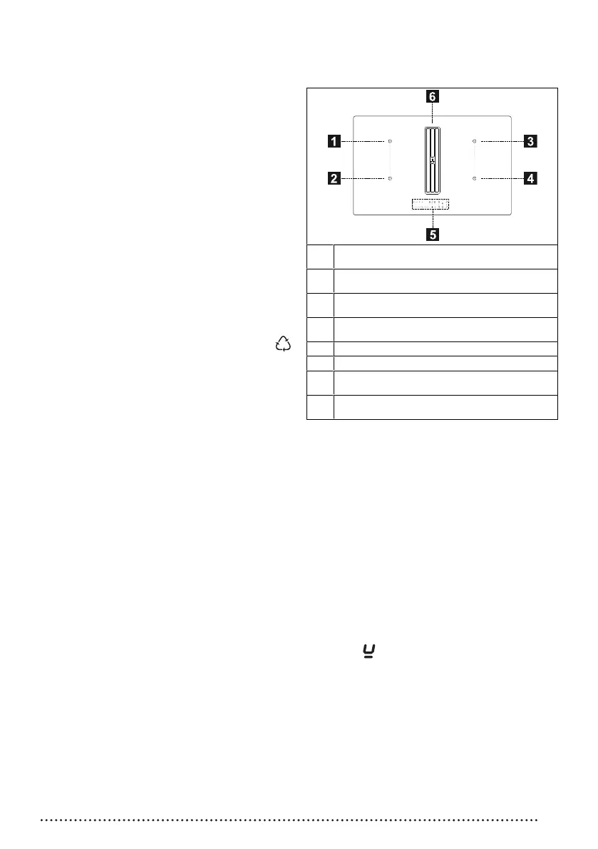
7. DESCRIPTION DU
PRODUIT
1
Zone de cuisson simple (210x190 mm) 2 100 W,
avec fonction Booster de 3000 W
2
Zone de cuisson simple (210x190 mm) 2 100 W,
avec fonction Booster de 3000 W
3
Zone de cuisson simple (210x190 mm) 2 100 W,
avec fonction Booster de 3000 W
4
Zone de cuisson simple (210x190 mm) 2 100 W,
avec fonction Booster de 3000 W
5
Bandeau de commande
6
Grille d’aspiration
1 + 2
Zone de cuisson modulable (210 x 380 mm) 3000
W, avec fonction Booster de 3700 W.
3 + 4
Zone de cuisson modulable (210 x 380 mm) 3000
W, avec fonction Booster de 3700 W.
INDICATEURS
Détection de présence d’une casse-
role
Chaque zone de cuisson possède un
système de détection de la présence de
casserole sur la plaque de cuisson.
Le système de détection de présence
de casserole reconnaît les casseroles à
fond aimantable adaptées aux plaques
à induction.
Si on retire la casserole pendant le fonc-
tionnement ou si on utilise une casse-
role inadaptée, l’affichage visualise le
symbole
.
Indicateur de chaleur résiduelle
L’indicateur de chaleur résiduelle est un
dispositif de sécurité indiquant que la
surface de la zone de cuisson a toujours
une température de 50 °C ou plus, ce
qui risque de provoquer des brûlures si
on la touche avec les mains nues. La
9
Bekijk gratis de handleiding van Roblin PIANO REC, stel vragen en lees de antwoorden op veelvoorkomende problemen, of gebruik onze assistent om sneller informatie in de handleiding te vinden of uitleg te krijgen over specifieke functies.
Productinformatie
Merk | Roblin |
Model | PIANO REC |
Categorie | Niet gecategoriseerd |
Taal | Nederlands |
Grootte | 11616 MB |