Handleiding
Je bekijkt pagina 26 van 124

EN
2
26
CHARACTERISTICS
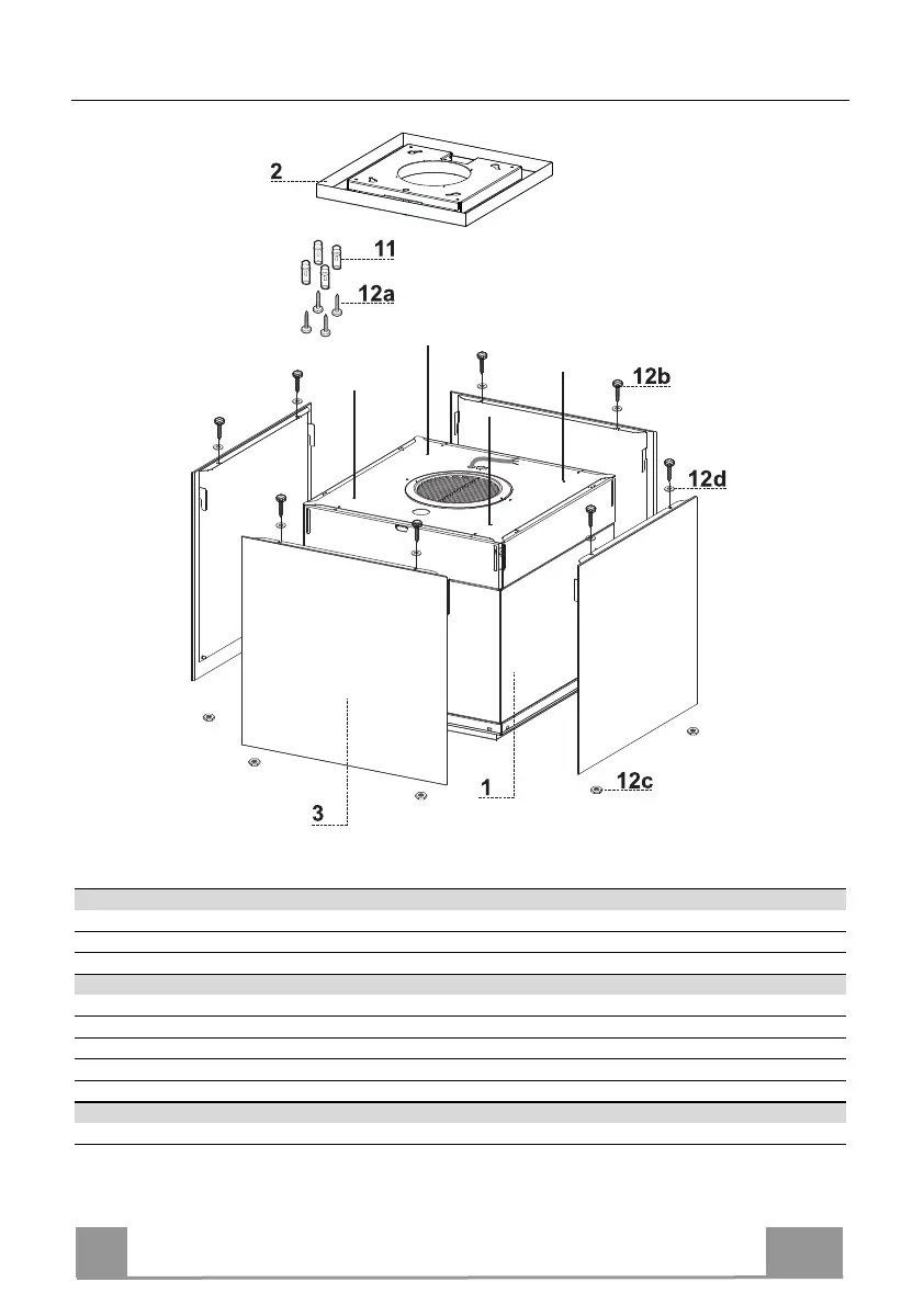
Components
Ref. Q.ty Product Components
1 1 Hood Canopy complete with: Controls, Light, Filters, Motor.
2 1 Hood support plate.
3 4 Glass elements
Ref. Q.ty Installation Components
11 4 Wall Plugs ø 10
12a 4 Screws 4.2 x 44.4
12b 8 Screws 4 x 8
12c 8 Nuts
12d 8 Washers D.4,3 x 10
Q.ty Documentation
1 Instruction Manual
Bekijk gratis de handleiding van Roblin Epsilon 400, stel vragen en lees de antwoorden op veelvoorkomende problemen, of gebruik onze assistent om sneller informatie in de handleiding te vinden of uitleg te krijgen over specifieke functies.
Productinformatie
| Merk | Roblin |
| Model | Epsilon 400 |
| Categorie | Afzuigkap |
| Taal | Nederlands |
| Grootte | 10767 MB |







