Rikon 10-345 handleiding

24 pagina's
PDF beschikbaar

Handleiding

Je bekijkt pagina 19 van 24
19
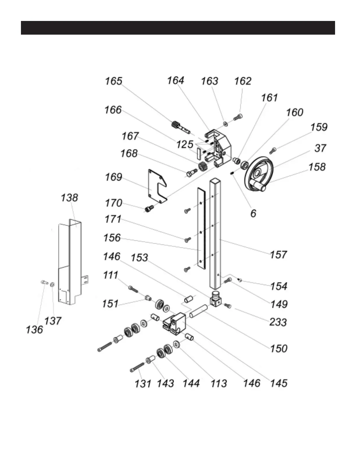
Parts Diagram

Bekijk gratis de handleiding van Rikon 10-345, stel vragen en lees de antwoorden op veelvoorkomende problemen, of gebruik onze assistent om sneller informatie in de handleiding te vinden of uitleg te krijgen over specifieke functies.

Productinformatie

MerkRikon
Model10-345
CategorieNiet gecategoriseerd
TaalNederlands
Grootte7918 MB