Reliable 550VB handleiding

32 pagina's
PDF beschikbaar

Handleiding

Je bekijkt pagina 9 van 32
06
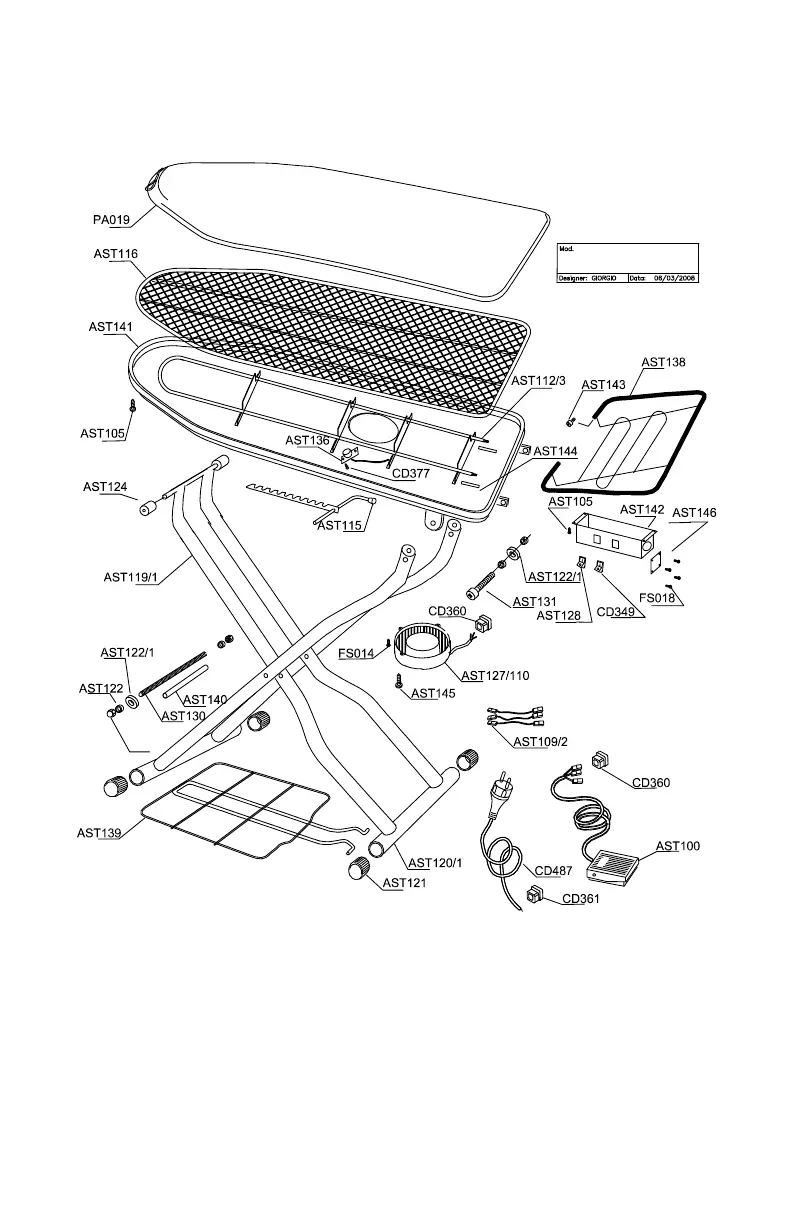
500VB
PARTS DRAWING 500VB

Bekijk gratis de handleiding van Reliable 550VB, stel vragen en lees de antwoorden op veelvoorkomende problemen, of gebruik onze assistent om sneller informatie in de handleiding te vinden of uitleg te krijgen over specifieke functies.

Productinformatie

MerkReliable
Model550VB
CategorieWasmachine
TaalNederlands
Grootte2495 MB