Handleiding
Je bekijkt pagina 10 van 78

10
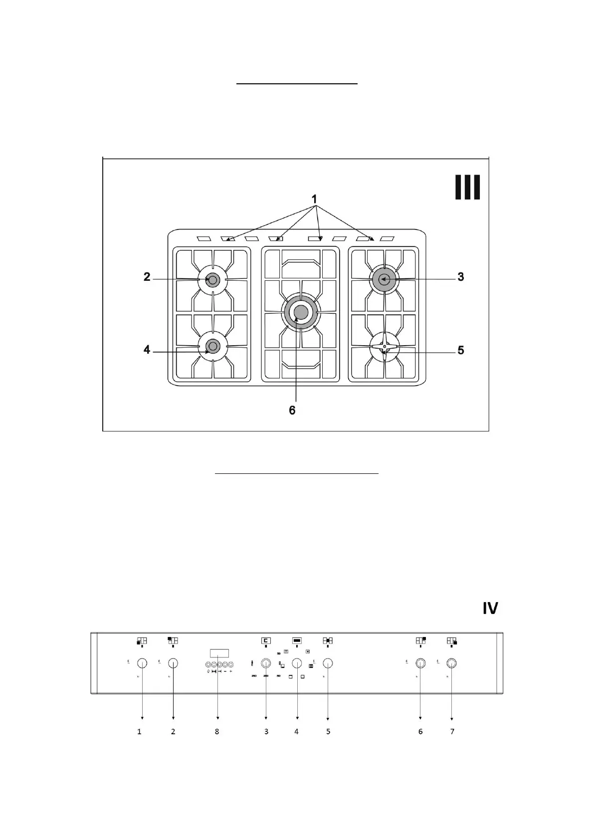
WIDOK PŁYTY GŁÓWNEJ
patrz Rys. III
1 – otwory wentylacyjne 2 – palnik średni 3 – palnik duży
4 – palnik średni 5 – palnik mały 6 – palnik „korona”
PANEL STEROWANIA – OBSŁUGA
patrz Rys. IV
1, 2, 5, 6, 7 - Pokrętła sterujące palnikami
3 - Pokrętło ustawienia temperatury
4 - Pokrętło funkcji piekarnika
8 - Wyświetlacz
Bekijk gratis de handleiding van Ravanson KWGE-K90, stel vragen en lees de antwoorden op veelvoorkomende problemen, of gebruik onze assistent om sneller informatie in de handleiding te vinden of uitleg te krijgen over specifieke functies.
Productinformatie
| Merk | Ravanson |
| Model | KWGE-K90 |
| Categorie | Fornuis |
| Taal | Nederlands |
| Grootte | 13749 MB |


