Rane AC 22B handleiding
Handleiding
Je bekijkt pagina 5 van 13

Manual-5
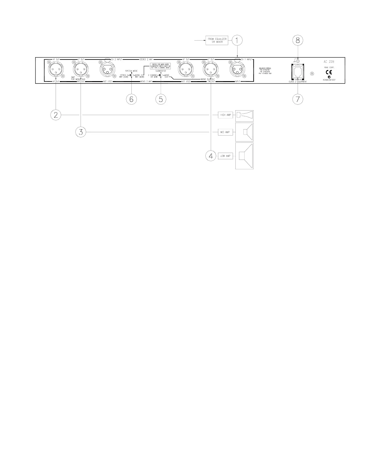
REAR PANEL: MONO 3-WAY CONFIGURATION
Observe the labels below the Inputs and Outputs for Mono operation.
MONO (CHANNEL 1) INPUT: Plug the output of the mixer, equalizer or other signal source to this Input for mono
operation. Do not use the Channel 2 INPUT for MONO 3-WAY operation.
HIGH FREQUENCY OUTPUT: Connect this Output to the input of the high frequency amp.
MID FREQUENCY OUTPUT: Connect this Output to the input of the mid frequency amp.
LOW FREQUENCY OUTPUT: Connect this Output to the input of the low frequency amp.
SUBWOOFER switch: Set this switch for 2 CHANNEL (M3W) operation.
SYSTEM MODE switch: Set this switch for MONO 3-WAY operation.
POWER input connector: Use only an RS 1, or other remote AC power supply approved by Rane. This unit is supplied
with a remote power supply suitable for connection to this input jack. Consult the factory for replacement or substitution.
This unit’s power input is designed for an AC supply, delivering 18-24 volts, from a center-tapped transformer capable of
supplying at least the current demanded by this product. Using any other type of supply may damage the unit and void the
warranty. The Rane RAP 10 power supply can power up to ten Rane units that use outboard supplies.
Chassis ground point: A #6-32 screw is supplied for chassis grounding purposes. Units with external power supplies do
not ground the chassis through the line cord. In case of a grounding problem, try connecting crossover chassis ground to
amplifier chassis ground or directly to the grounding screw on a grounded AC outlet cover by means of a wire secured on
both ends with star washers to guarantee proper contact. See the Chassis Grounding Note on page Manual-3.
Bekijk gratis de handleiding van Rane AC 22B, stel vragen en lees de antwoorden op veelvoorkomende problemen, of gebruik onze assistent om sneller informatie in de handleiding te vinden of uitleg te krijgen over specifieke functies.
Productinformatie
| Merk | Rane |
| Model | AC 22B |
| Categorie | Niet gecategoriseerd |
| Taal | Nederlands |
| Grootte | 1862 MB |







