Handleiding
Je bekijkt pagina 19 van 25

19
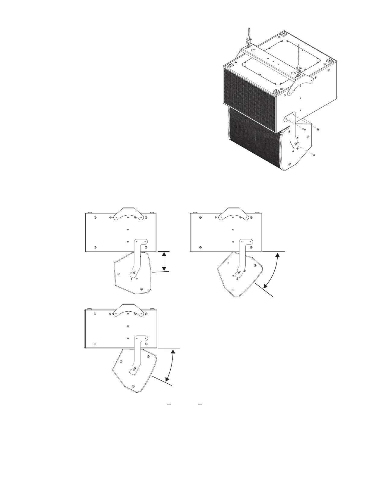
3. Install the PL-CA12-LK link on the PL-SUB15 using the M8x25 screws provided.
4. Insert an M8 screw into the yoke hole on the PL-CA12 loudspeaker.
5. Hang the loudspeaker on the bracket by inserting the M8 screws into the
bracket slots.
6. Angle the loudspeaker. When using the slot, the loudspeaker can be
angled from -5° to +40°; when using the hole, the loudspeaker can
beangled at + 26°.
NOTE:
The suspension frame does not use the same M8 holes when used
alone or when supporting a PL-CA12.
NOTE:
Metallic continuity is ensured from the suspension frame to the
PL-CA12 loudspeaker thanks to a plate located inside the PL-SUB15
subwoofer.
WARNING!: DO NOT USE M10 RIGGING POINTS WHEN
DEPLOYING A PL-CA12 UNDER A PL-SUB15. The metallic continuity does
not exist in this case.
40°
26°
-5°
2
1
Using Slot
Using Hole
Figure14
40°
26°
-5°
2
1
Figure13
Bekijk gratis de handleiding van QSC PL-SUB15, stel vragen en lees de antwoorden op veelvoorkomende problemen, of gebruik onze assistent om sneller informatie in de handleiding te vinden of uitleg te krijgen over specifieke functies.
Productinformatie
Merk | QSC |
Model | PL-SUB15 |
Categorie | Speaker |
Taal | Nederlands |
Grootte | 3533 MB |