PKM GSP12-4DFI handleiding
Handleiding
Je bekijkt pagina 26 van 144

~ 26 ~
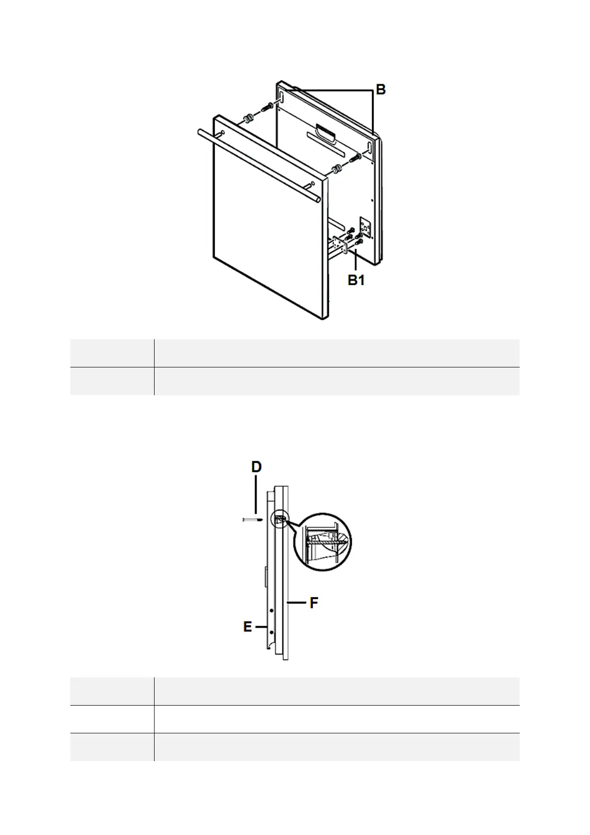
B
ÖFFNUNGEN ZUM EINHÄNGEN DER ZIERVERKLEIDUNG
B 1
UNTERE SCHRAUBEN (insgesamt 4)
4. Richten Sie die Zierverkleidung ordnungsgemäß an der Außenseite der Gerätetür
aus und befestigen Sie sie mit den vier langen Schrauben (D / s. Abb. unten).
D
SCHRAUBENLÖCHER / LANGE SCHRAUBEN (4 St.)
E
INNENSEITE DER GERÄTETÜR
F
ZIERVERKLEIDUNG
Bekijk gratis de handleiding van PKM GSP12-4DFI, stel vragen en lees de antwoorden op veelvoorkomende problemen, of gebruik onze assistent om sneller informatie in de handleiding te vinden of uitleg te krijgen over specifieke functies.
Productinformatie
| Merk | PKM |
| Model | GSP12-4DFI |
| Categorie | Niet gecategoriseerd |
| Taal | Nederlands |
| Grootte | 24942 MB |


