Phoenix Contact CHARX SEC-3050 handleiding
Handleiding
Je bekijkt pagina 17 van 178

CHARX control modular product family
109999_en_06 Phoenix Contact 17 / 176
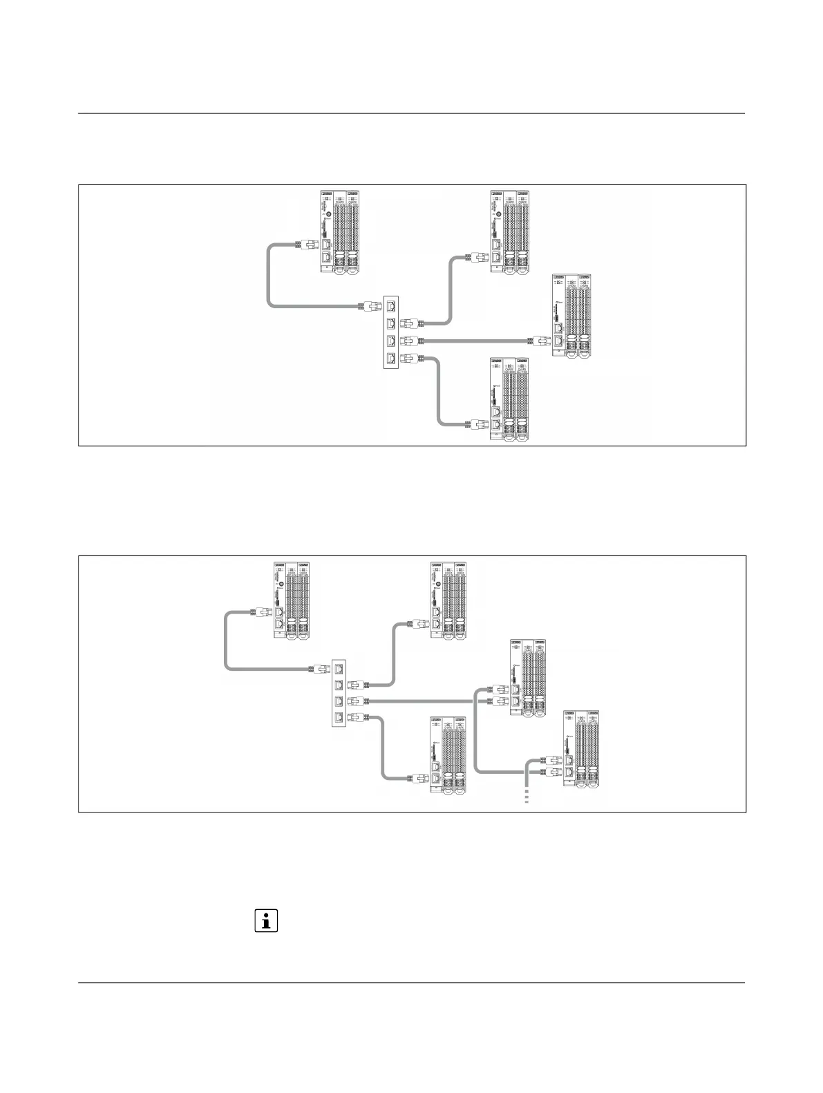
Figure 2-3 CHARX control modular application overview F
Figure 2-4 CHARX control modular application overview G
Phoenix Contact FL SWITCH 100X N series is not supported
F
F Charging parks with multiple charging stations that are connected together via
Ethernet, centrally connected via a switch, each with at least one CHARX SEC-3xxx
and possibly additional CHARX SEC-1000 charging controllers that are attached
via the DIN rail connector.
G
G Charging parks with multiple charging stations that are connected together via
Ethernet, centrally connected via a switch, each with at least one CHARX SEC-3xxx
and possibly additional CHARX SEC-1000 charging controllers that are attached via
the DIN rail connector. Additional SEC-3xxx charging controllers, connected via
Ethernet using daisy chaining.
Bekijk gratis de handleiding van Phoenix Contact CHARX SEC-3050, stel vragen en lees de antwoorden op veelvoorkomende problemen, of gebruik onze assistent om sneller informatie in de handleiding te vinden of uitleg te krijgen over specifieke functies.
Productinformatie
Merk | Phoenix Contact |
Model | CHARX SEC-3050 |
Categorie | Niet gecategoriseerd |
Taal | Nederlands |
Grootte | 18845 MB |