Peerless-AV Neptune Full Sun ODTV5504 handleiding

84 pagina's
PDF beschikbaar

Handleiding

Je bekijkt pagina 39 van 84
39
2023-09-19 #:180-9178-1
C (3)
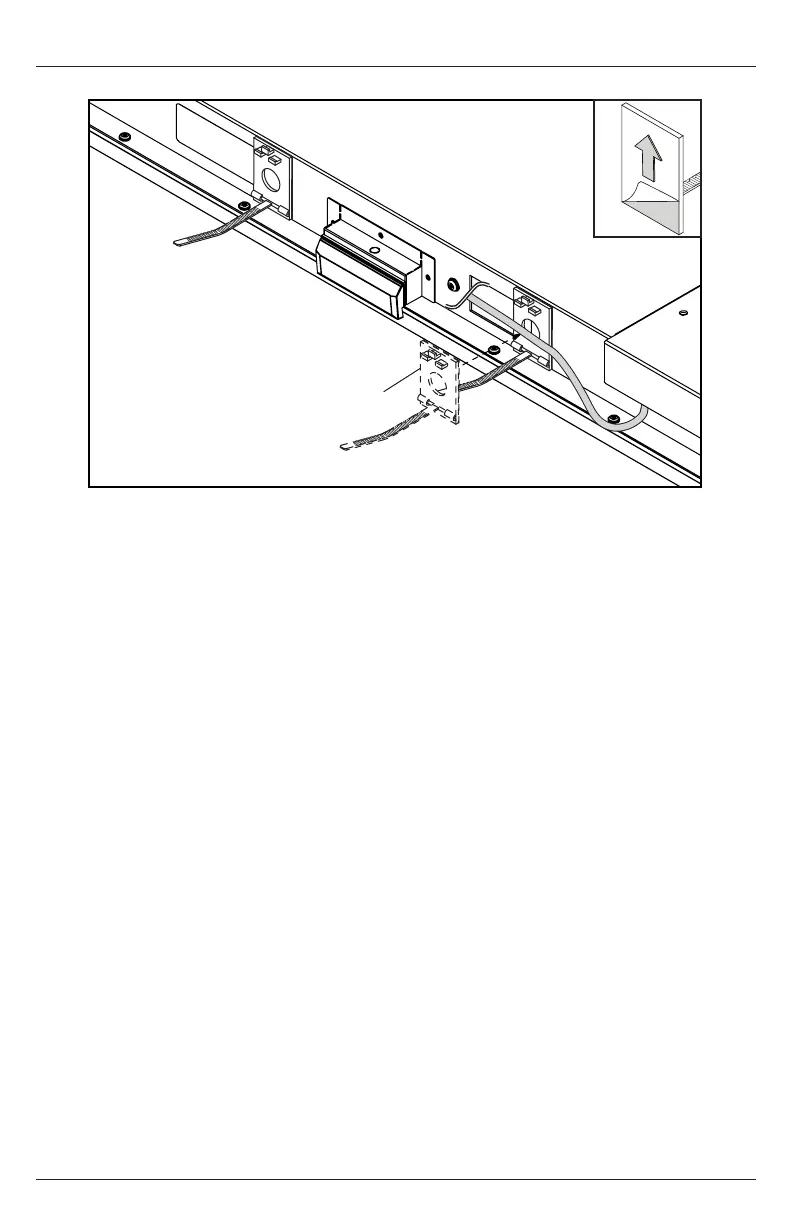
Manejo de Cables
Fije los cables a la pantalla con los sujetacables adhesivos.
C

Bekijk gratis de handleiding van Peerless-AV Neptune Full Sun ODTV5504, stel vragen en lees de antwoorden op veelvoorkomende problemen, of gebruik onze assistent om sneller informatie in de handleiding te vinden of uitleg te krijgen over specifieke functies.

Productinformatie

MerkPeerless-AV
ModelNeptune Full Sun ODTV5504
CategorieTelevisie
TaalNederlands
Grootte11438 MB