Peerless-AV KOP55XHB handleiding
Handleiding
Je bekijkt pagina 24 van 32

24
2022-10-17 #:150-9147-1
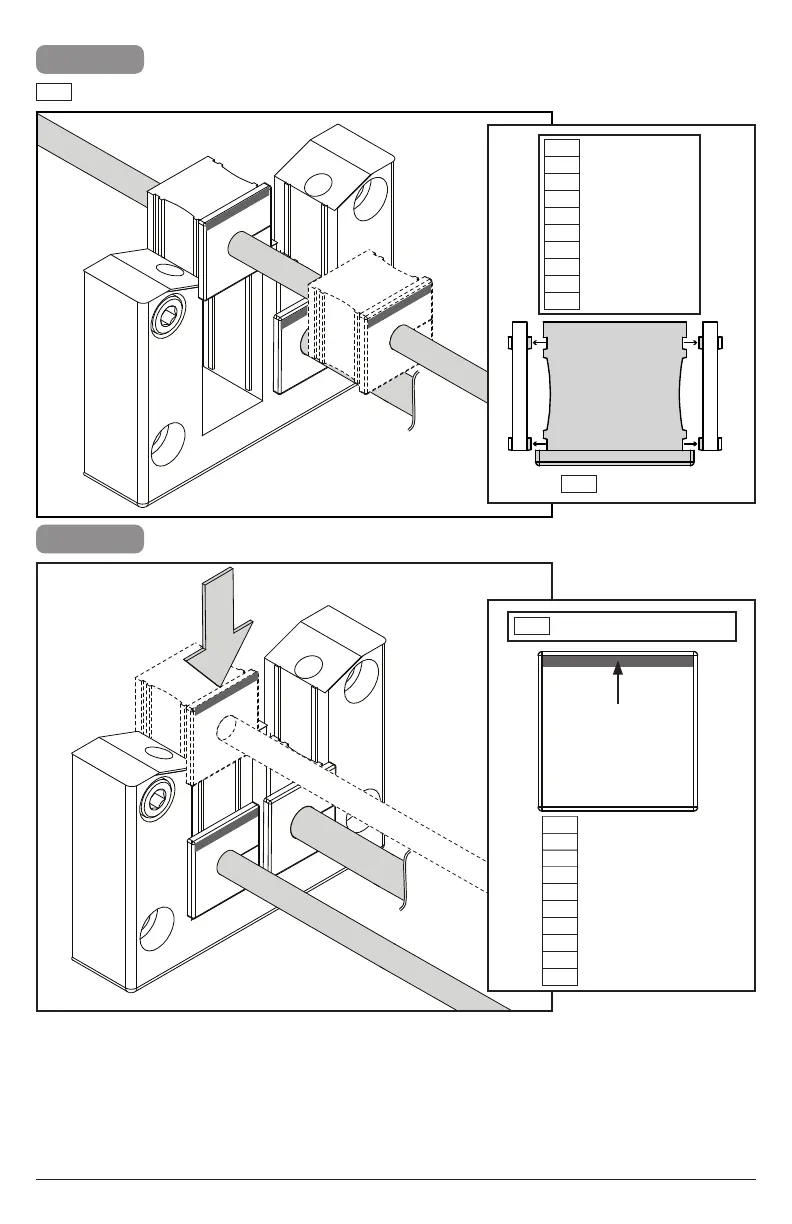
11-2
Slide grommets into enclosure, aligning grooves of grommet with grooves in cable gland.
ENG
Top ViewENG
Align.
Alinear.
Aligner.
Ausrichten.
Op één lijn zetten.
Allineare.
Vyrovnejte.
Zarovnať.
Alinhar.
Hizala.
ENG
ESP
FRN
DEU
NEL
ITL
ČEŠ
SLK
POR
TÜR
11-3
ENG
Note orientation of red edge.
Front View.
Vista delantera.
Vue de face.
Vorderansicht.
Vooraanzicht.
Veduta anteriore.
Čelní pohled.
Pohľad spredu.
Vista frontal.
Önden görünüm.
ENG
ESP
FRN
DEU
NEL
ITL
ČEŠ
SLK
POR
TÜR
Bekijk gratis de handleiding van Peerless-AV KOP55XHB, stel vragen en lees de antwoorden op veelvoorkomende problemen, of gebruik onze assistent om sneller informatie in de handleiding te vinden of uitleg te krijgen over specifieke functies.
Productinformatie
| Merk | Peerless-AV |
| Model | KOP55XHB |
| Categorie | Monitor |
| Taal | Nederlands |
| Grootte | 3661 MB |







