Peerless-AV KOP55XHB handleiding
Handleiding
Je bekijkt pagina 12 van 32

12
2022-10-17 #:150-9147-1
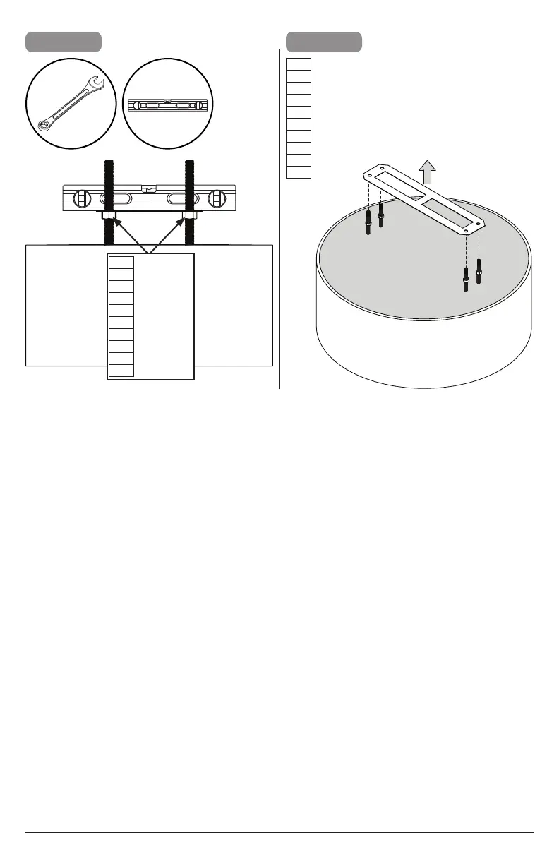
3-2 3-3
3/4"
(19mm)
ENG
ESP
FRN
DEU
NEL
ITL
ČEŠ
SLK
POR
TÜR
Adjust.
Ajuste.
Réglez.
Einstellen.
Aanpassen.
Regolare.
Nastavit.
Nastaviť.
Ajuste.
Ayarlayın.
Remove.
Quite.
Retirez.
Entfernen.
Verwijderen.
Rimuovere.
Odstranit.
Odstrániť.
Remova.
Çıkartın.
ENG
ESP
FRN
DEU
NEL
ITL
ČEŠ
SLK
POR
TÜR
Bekijk gratis de handleiding van Peerless-AV KOP55XHB, stel vragen en lees de antwoorden op veelvoorkomende problemen, of gebruik onze assistent om sneller informatie in de handleiding te vinden of uitleg te krijgen over specifieke functies.
Productinformatie
| Merk | Peerless-AV |
| Model | KOP55XHB |
| Categorie | Monitor |
| Taal | Nederlands |
| Grootte | 3661 MB |







