Peerless-AV KOP2555-XHB handleiding
Handleiding
Je bekijkt pagina 14 van 36

14
2018-08-15 #:150-9100-2 (2018-10-10)
2-2 2-3
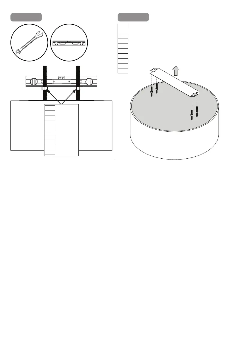
Remove
quite
retirez
entfernen
verwijderen
rimuovere
odstranit
odstrániť
remova
çıkartın
ENG
ESP
FRN
DEU
NEL
ITL
ČEŠ
SLK
POR
TÜR
3/4"
(19mm)
ENG
ESP
FRN
DEU
NEL
ITL
ČEŠ
SLK
POR
TÜR
Adjust
Ajuste
Réglez
Einstellen
Aanpassen
Regolare
Nastavit
Nastaviť
Ajuste
Ayarlayın
Bekijk gratis de handleiding van Peerless-AV KOP2555-XHB, stel vragen en lees de antwoorden op veelvoorkomende problemen, of gebruik onze assistent om sneller informatie in de handleiding te vinden of uitleg te krijgen over specifieke functies.
Productinformatie
| Merk | Peerless-AV |
| Model | KOP2555-XHB |
| Categorie | Monitor |
| Taal | Nederlands |
| Grootte | 3806 MB |
Caratteristiche Prodotto
| Kleur van het product | Zwart |
| Gewicht | 160000 g |
| Breedte | 899 mm |
| Diepte | 216 mm |
| Hoogte | 2091 mm |







