Peerless-AV KILH550-EUK handleiding

12 pagina's
PDF beschikbaar

Handleiding

Je bekijkt pagina 9 van 12
9
2018-04-02 #:150-9211-1
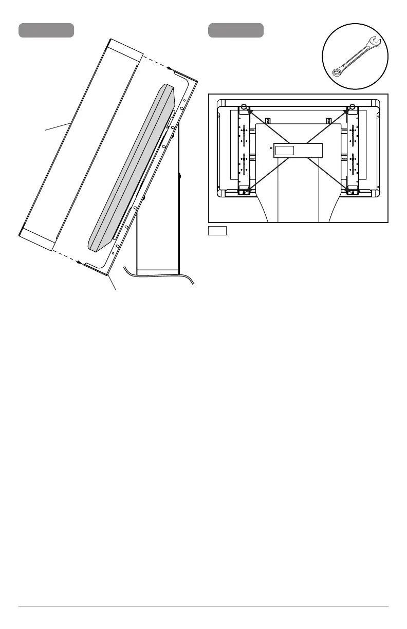
8-1 8-2
Tighten.
ENG
C
A
Back view
ENG
3/8"
(10mm)

Bekijk gratis de handleiding van Peerless-AV KILH550-EUK, stel vragen en lees de antwoorden op veelvoorkomende problemen, of gebruik onze assistent om sneller informatie in de handleiding te vinden of uitleg te krijgen over specifieke functies.

Productinformatie

MerkPeerless-AV
ModelKILH550-EUK
CategorieNiet gecategoriseerd
TaalNederlands
Grootte1117 MB

Caratteristiche Prodotto

Kleur van het productZwart
Gewicht59000 g
Breedte1221 mm
Diepte470 mm
Hoogte1398 mm