Peerless-AV DS-LEDTK-16VX6S handleiding

32 pagina's
PDF beschikbaar

Handleiding

Je bekijkt pagina 12 van 32
12
2020-07-13 #:146-9054-5 (2022-08-18)
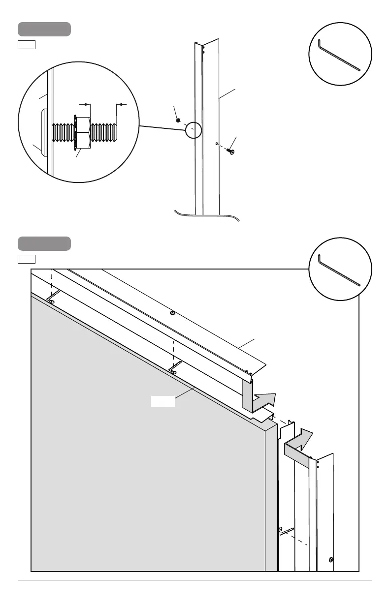
4a-1
Place wall plate cover over wall bracket. Slide back until ush with front of video wall.
ENG
A
C,T
S
4a-2
L
Q
Do not tighten hardware to solid cover.
ENG
S
A
Q
L
A
1/8" - 1/2"
(3mm - 13mm)

Bekijk gratis de handleiding van Peerless-AV DS-LEDTK-16VX6S, stel vragen en lees de antwoorden op veelvoorkomende problemen, of gebruik onze assistent om sneller informatie in de handleiding te vinden of uitleg te krijgen over specifieke functies.

Productinformatie

MerkPeerless-AV
ModelDS-LEDTK-16VX6S
CategorieNiet gecategoriseerd
TaalNederlands
Grootte2893 MB