Peerless-AV ACCXT300 handleiding
Handleiding
Je bekijkt pagina 14 van 17

14 sur 17
PUBLIÉ LE: 07-28-11 FEUILLE n
o
: 120-9120-2 09-15-11
Français
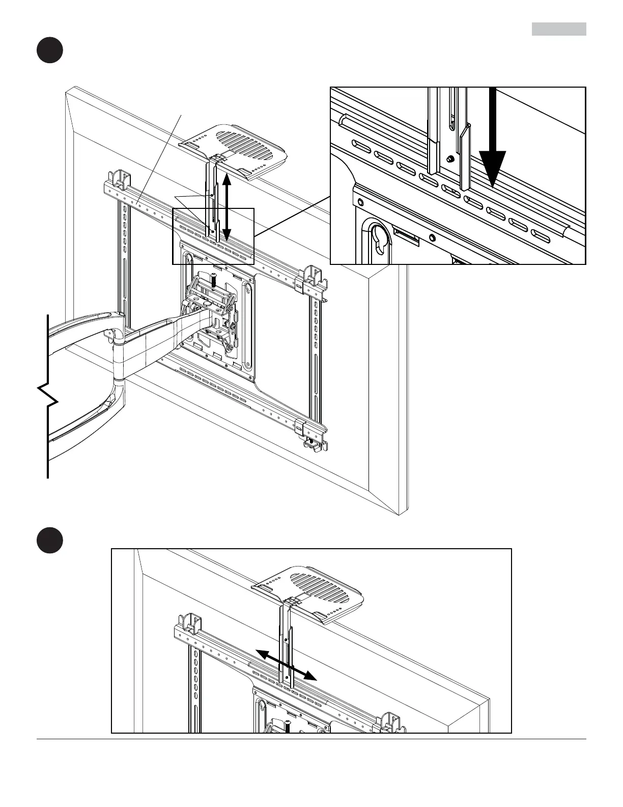
Faites glisser le plateau de Conférence vidéo dans la fente située sur le dos de votre monture d'affi chage. Ajustez
parenthèses (B, C, D) à la hauteur désirée et serrez les deux vis (E) sur les crochets. REMARQUE: Le plateau de
Conférence vidéo peut également être installé au fond de la monture d'affi chage.
3
E
Ajuster le plateau de Conférence vidéo à la position horizontale désirée.
4
AFFICHAGE DE MONTAGE
Bekijk gratis de handleiding van Peerless-AV ACCXT300, stel vragen en lees de antwoorden op veelvoorkomende problemen, of gebruik onze assistent om sneller informatie in de handleiding te vinden of uitleg te krijgen over specifieke functies.
Productinformatie
| Merk | Peerless-AV |
| Model | ACCXT300 |
| Categorie | Niet gecategoriseerd |
| Taal | Nederlands |
| Grootte | 2129 MB |
Caratteristiche Prodotto
| Kleur van het product | Zwart |
| Gewicht verpakking | 1000 g |
| Breedte verpakking | 161.9 mm |
| Diepte verpakking | 82.6 mm |
| Hoogte verpakking | 344.5 mm |







