Panduit RGS134B42-1 handleiding
Handleiding
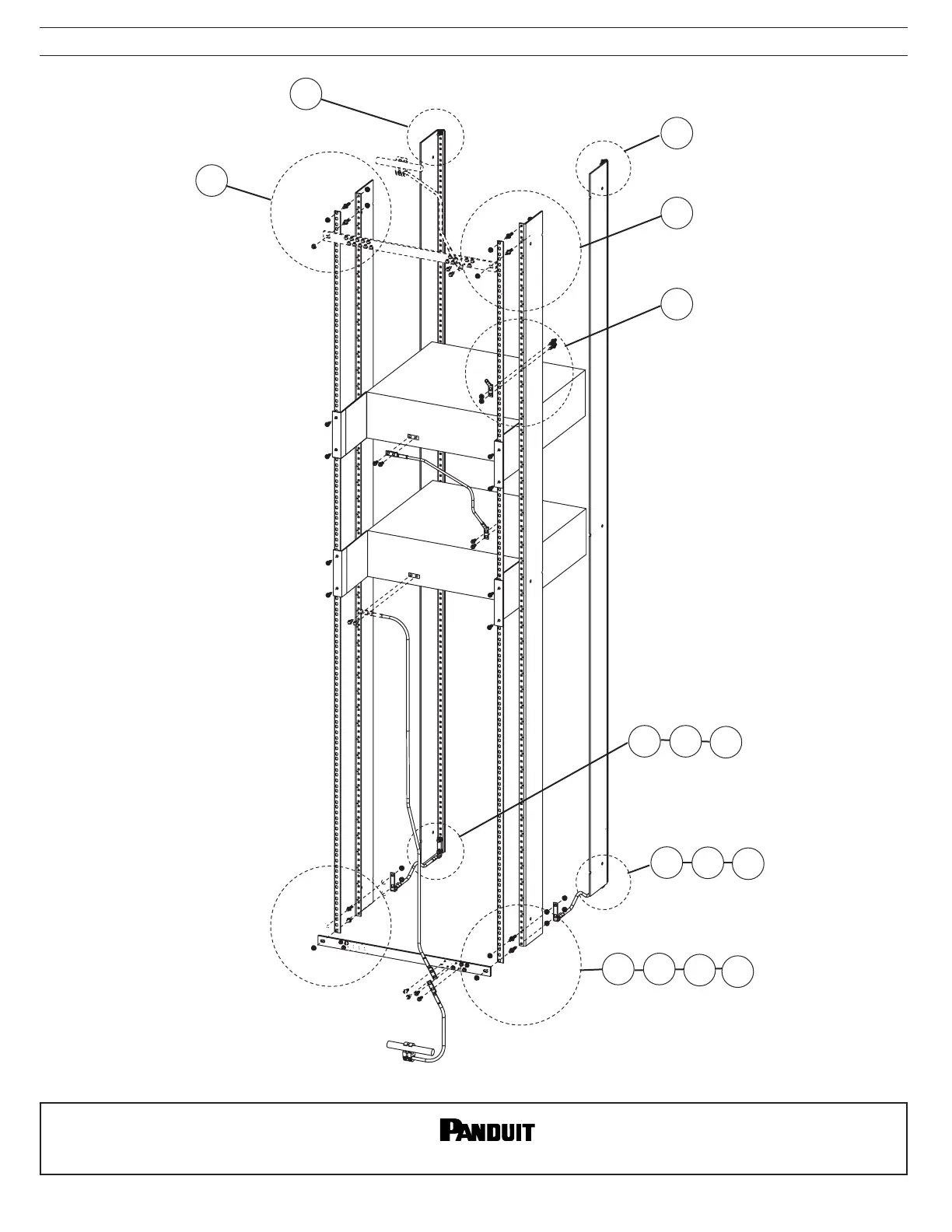
Bekijk gratis de handleiding van Panduit RGS134B42-1, stel vragen en lees de antwoorden op veelvoorkomende problemen, of gebruik onze assistent om sneller informatie in de handleiding te vinden of uitleg te krijgen over specifieke functies.
Productinformatie
| Merk | Panduit |
| Model | RGS134B42-1 |
| Categorie | Niet gecategoriseerd |
| Taal | Nederlands |
| Grootte | 1057 MB |








