Handleiding
Je bekijkt pagina 23 van 55

23
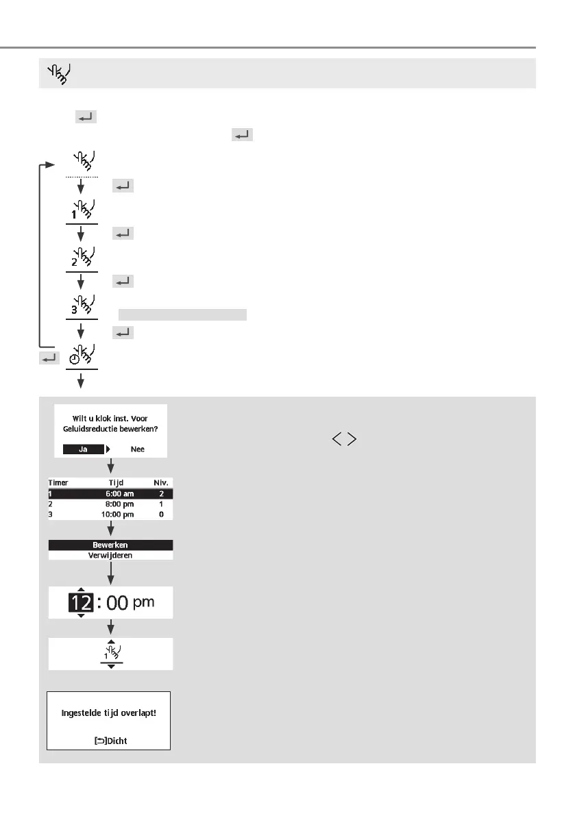
Geluidsreductie
Selecteer dit icoontje voor een stille werking.
Druk op
, om uw keuze te bevestigen.
(De stille werking start ongeveer 1 minuut nadat
is ingedrukt.)
• De stille stand is uitgeschakeld.
• De stille stand werkt op niveau 1.
• De stille stand werkt op niveau 2.
• De stille stand werkt op niveau 3.
Niveau 3 is de stilste stand.
• Selecteer dit om een timer voor werking van de stille stand in te stellen.
Na 1 sec. vertraging.
Selecteer “Yes”.
• Selecteer “Yes” met gebruik van de
knoppen.
Selecteer schema “1” ~ “6”.
Selecteer “Edit”.
• Als u “Delete” selecteert, wordt de timerinstelling van het gekozen schema gewist.
Stel de uren en minuten in.
Selecteer het niveau van de stille stand.
Opmerking:
• Als de tijd overlapt met een ander schema wordt op het scherm “Set time is
overlapped!” weergegeven.
Bekijk gratis de handleiding van Panasonic WH-ADC0509L6E5AN, stel vragen en lees de antwoorden op veelvoorkomende problemen, of gebruik onze assistent om sneller informatie in de handleiding te vinden of uitleg te krijgen over specifieke functies.
Productinformatie
| Merk | Panasonic |
| Model | WH-ADC0509L6E5AN |
| Categorie | Airco |
| Taal | Nederlands |
| Grootte | 5485 MB |







