Panasonic F-60GDS handleiding
Handleiding
Je bekijkt pagina 18 van 24

1/f YURAGI (natural breeze) 1/f YURAGI (Gió tự nhiên)
Add smooth accent to air capacity and
comfortable wind more naturally.
To activate 1/f YURAGI function according
to speed setting.
Tác động lực thật nhẹ vào luồng gió, giúp
cho luồng gió trở nên tự nhiên hơn.
Để kích hoạt chức năng 1/f YURAGI theo tốc
độ cài đặt.
• 1/f YURAGI function does exist for speed 1
but less noticeable compared to higher speed
(speed 4 and above).
Note:
• Chức năng 1/f YURAGI vẫn hoạt động với
tốc độ gió là 1 nhưng không đáng kể so với
tốc độ cao hơn (lớn hơn hoặc bằng 4).
Ghi chú:
4
Select a desired speed (speed 1 - 9).
Press “1/f YURAGI” button on Remote
Control to activate 1/f YURAGI function.
• Press again to deactivate 1/f YURAGI
function.
Lựa chọn tốc độ mong muốn (tốc độ 1 - 9).
Ấn nút “1/f YURAGI” trên điều khiển để kích
hoạt chức năng 1/f YURAGI.
• Lưu ý Ấn nút Yuragi một lần nữa để tắt chức
năng 1/f YURAGI.
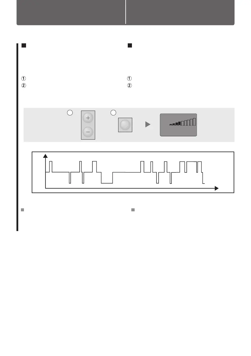
1/f YURAGI speed change pattern / Kiểu thay đổi tốc độ của 1/f YURAGI
TIME /
THỜI GIAN
SPEED /
TỐC ĐỘ
This pattern is an example for 1/f YURAGI
setting at speed 4.
Dạng này là một ví dụ cho chế độ 1/f YURAGI cài
đặt ở tốc độ 4.
1
2
SPEED
YURAGI
1/f
FAN
SPEED
YURAGI SLEEP
How to use Cách sử dụng
18
Bekijk gratis de handleiding van Panasonic F-60GDS, stel vragen en lees de antwoorden op veelvoorkomende problemen, of gebruik onze assistent om sneller informatie in de handleiding te vinden of uitleg te krijgen over specifieke functies.
Productinformatie
| Merk | Panasonic |
| Model | F-60GDS |
| Categorie | Ventilator |
| Taal | Nederlands |
| Grootte | 4116 MB |



