Handleiding
Je bekijkt pagina 83 van 90

FR - 18
Si la pause intelligente n’est pas
désactivée, les plaques s’éteignent après
30 minutes.
Appuyez sur pour activer la pause
intelligente. La puissance du ou des
foyer(s) activé(s) passera au niveau 1 et "II"
apparaîtra sur tous les afficheurs.
Appuyez sur ( ) à nouveau pour
désactiver la pause intelligente. "II"
disparaîtra et les foyers fonctionneront
désormais au niveau précédemment réglé.
Fonction d’arrêt de sécurité
Une zone de cuisson s'éteint
automatiquement si le niveau de cuisson
n'a pas été modifié pendant une durée
spécifiée. Un changement dans le réglage
de la chaleur de la zone de cuisson
remettra la durée à sa valeur initiale.
Cette valeur initiale dépend du niveau de
température sélectionné, comme indiqué
ci-dessous.
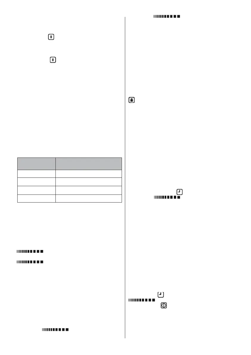
Réglage de
température
Arrêt de sécurité après
1-2 6 heure
3-4 5 heure
5 4 heure
6-9 1,5 heure
Sécurité enfant
Une fois les plaques de l'appareil sous
tension, la fonction Sécurité enfant peut
être activée. Pour activer la Sécurité enfant,
appuyez simultanément sur les parties
gauche et droite du bouton coulissant
, puis appuyez à nouveau
sur la partie droite du bouton coulissant
. "L" signifiant verrouillé
("locked") apparaît dans tous les afficheurs
de foyer et les contrôles ne peuvent pas
être modifiés. (Si une zone de cuisson
est chaude, "L" et "H" s’affichent en
alternance.)
La plaque restera verrouillée jusqu'à ce
qu'elle soit déverrouillée, même si l'appareil
a été éteint et rallumé.
Pour désactiver la Sécurité enfant, allumez
d'abord la plaque. Appuyez simultanément
sur les parties gauche et droite du bouton
coulissant , puis appuyez à
nouveau sur la partie droite du bouton
coulissant . "L" ne s'affichera
plus et la plaque sera éteinte.
Verrouillage des touches
La fonction de verrouillage des touches est
utilisée pour régler le "mode sans échec"
sur l'appareil pendant le fonctionnement.
Il ne sera pas possible d'effectuer des
réglages en appuyant sur les touches (par
exemple les réglages de chaleur). Il n’est
possible que de mettre l’appareil à l'arrêt.
La fonction de verrouillage devient active
si la touche de verrouillage des touches
est enfoncée pendant au moins
2 secondes. Cette opération déclenche
un bruit de buzzer. Après une opération
réussie, le voyant de verrouillage des
touches clignote et le foyer est verrouillé.
Fonction minuterie
La fonction de minuterie dispose des deux
versions suivantes.
Minuterie de rappel (1 - 99 min)
La minuterie de rappel peut être utilisée
lorsque les zones de cuisson sont à l'arrêt.
L'afficheur de la minuterie affiche "00" avec
un point clignotant.
Utilisez la minuterie et le bouton
coulissant pour augmenter/
diminuer la durée. La plage de réglages est
de 0 à 99 minutes. Si aucun changement
au temps affiché n'est détecté sous
10 secondes, la minuterie de rappel sera
réglée et le point clignotant disparaîtra. Une
fois la minuterie réglée, le compte à rebours
commence.
Lorsque la minuterie atteint zéro, un signal
sonore se déclenche et l’afficheur de la
minuterie clignote. Le signal sonore s’arrête
automatiquement après 2 minutes et/ou en
appuyant sur une touche quelconque.
La minuterie de rappel peut être changée
ou éteinte à tout moment en utilisant
la minuterie et le bouton coulissant
. Éteindre la plaque en appuyant
sur la touche à tout moment éteint aussi
la minuterie de rappel.
Minuterie de cuisson (1 - 99 min)
Lorsque la plaque est allumée, une
Bekijk gratis de handleiding van Orima ORP-86-INF, stel vragen en lees de antwoorden op veelvoorkomende problemen, of gebruik onze assistent om sneller informatie in de handleiding te vinden of uitleg te krijgen over specifieke functies.
Productinformatie
| Merk | Orima |
| Model | ORP-86-INF |
| Categorie | Fornuis |
| Taal | Nederlands |
| Grootte | 10455 MB |

