Oras Vega 1820 handleiding
Handleiding
Je bekijkt pagina 15 van 44

15 (44)
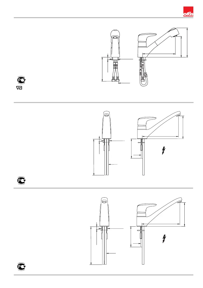
ø 34 - 36
max 30
350
220
135
G 3/8
200
EN 817
I (ISO 3822)
50 - 1000 kPa
0.18 l/s (300 kPa)
90 kPa (0.1 l/s)
0.07 l/s (Eco-flow at 300 kPa)
max. +80°C
ø 33 - 35
max 40
350
ø 8
205
130
ø 8
525
EN 817
50 - 1000 kPa
max. +80°C
1821
1832F
EN 817
50 - 1000 kPa
max. +80°C
1821E
ø 33 - 35
max 40
350
ø 8
205
130
ø 8
525
VA 1.42/18534
Sintef Nr. 0229
STF VTT-RTH-00100-11
Bekijk gratis de handleiding van Oras Vega 1820, stel vragen en lees de antwoorden op veelvoorkomende problemen, of gebruik onze assistent om sneller informatie in de handleiding te vinden of uitleg te krijgen over specifieke functies.
Productinformatie
Merk | Oras |
Model | Vega 1820 |
Categorie | Niet gecategoriseerd |
Taal | Nederlands |
Grootte | 4408 MB |