Handleiding
Je bekijkt pagina 20 van 36

20
NL
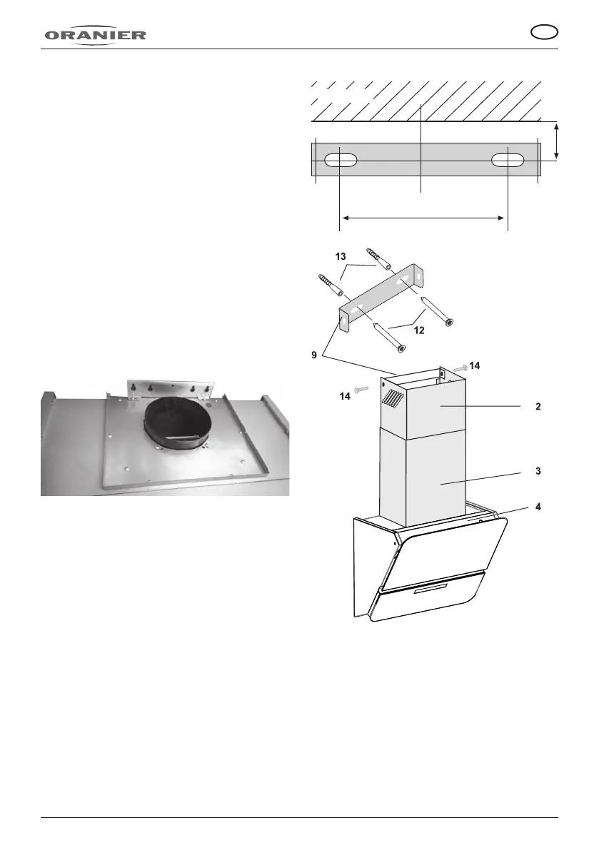
Schachtmontage
►Beschermfolies verwijderen.
De uit grondschacht (3) en telescoopschacht (2)
bestaande schacht op de volgende wijze samenvoegen:
Bij recirculatie functie:
►De telescoopschacht (2) zodanig aanbrengen dat de
luchtuitlaatgleuven zich boven bevinden.
Bij afvoerluchtbedrijf:
►De telescoopschacht (2) met de luchtuitlaatgleuven
naar beneden aanbrengen.
De luchtuitlaatgleuven zijn dan bedekt.
►De montageplaat (9) met twee schroeven 4 x 45 mm
(12) en twee plugs 8 x 40 mm (13) aan de wand
bevestigen.
►De grondschacht (3) met ingeschoven telescoop
schacht (2) boven de montagekraag van het motor
blok op het kap behuizing (4) aanbrengen.
Afvoerluchtbuis
Wandhouder
Montagekraag
►Nu de telescoopschacht (2) tot aan het plafond van
de ruimte omhoog trekken en op de montageplaat
(9) met 2 schroeven 3,9 x 9,5 mm (14) bevestigen.
20
ca. 245
Raumdecke
Bekijk gratis de handleiding van Oranier Signa 60 S, stel vragen en lees de antwoorden op veelvoorkomende problemen, of gebruik onze assistent om sneller informatie in de handleiding te vinden of uitleg te krijgen over specifieke functies.
Productinformatie
| Merk | Oranier |
| Model | Signa 60 S |
| Categorie | Afzuigkap |
| Taal | Nederlands |
| Grootte | 4786 MB |
Caratteristiche Prodotto
| Soort bediening | Touch |
| Kleur van het product | Zwart |
| Ingebouwd display | Nee |
| Breedte | 598 mm |
| Diepte | 410 mm |





