OmniMount WM4-L handleiding
Handleiding
Je bekijkt pagina 27 van 44

P27
OPTION A-4
Utáhněte upevněníCZ
Szorítsa meg a rögzítőt.
HU
Zaciśnij łącznik
PL
Ziehen Sie die Befestigung fest
DE
Draai de bevestiging vast
NL
Serrare il dispositivo di fissaggio
IT
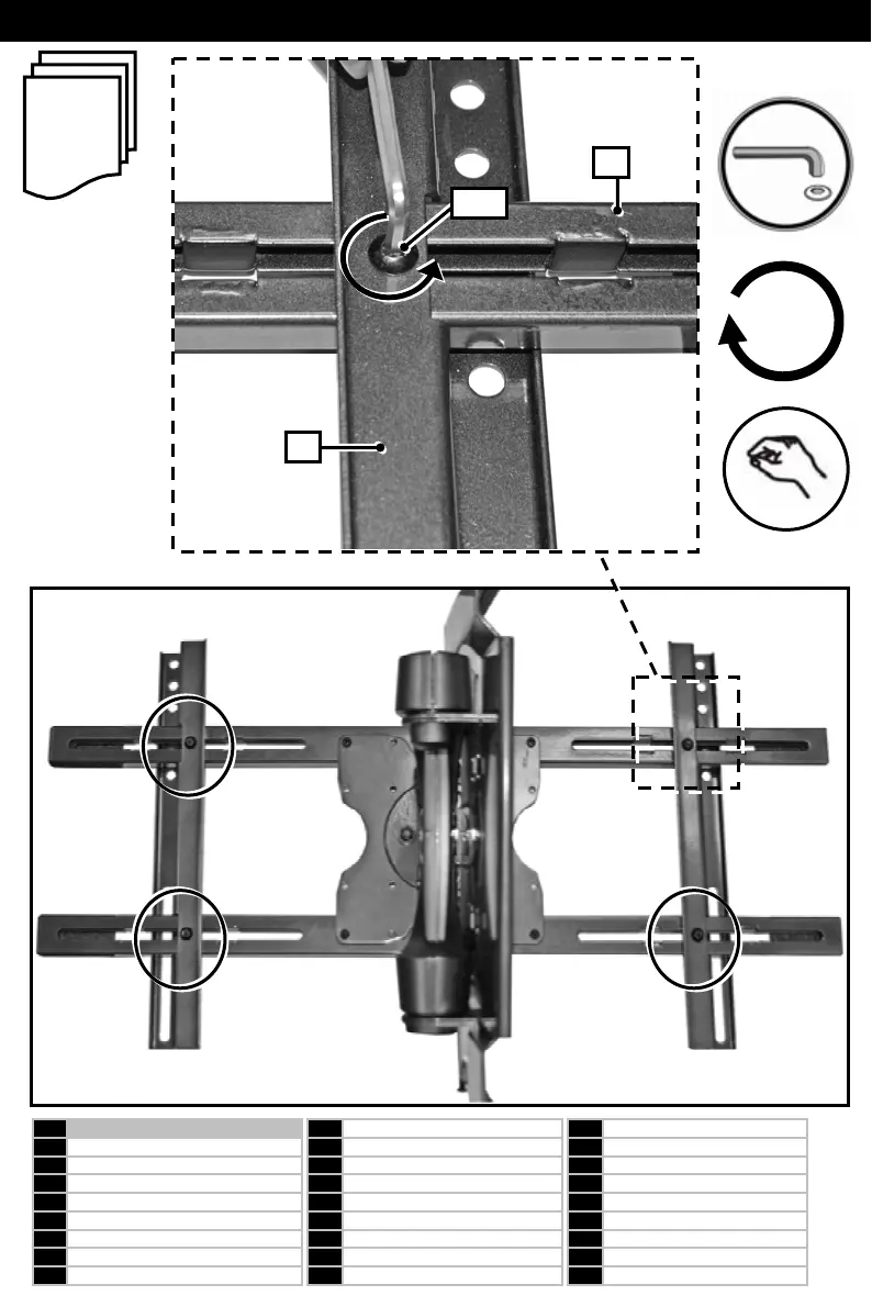
Tighten FastenerEN
Ajuste el sujetador
ES
Serrez l'attache
FR
A
X 4
X 4
ﻚﺒﺸﻤﻟا ﻂﺑراAR
Priveržti tvirtinimo elementą
LT
Pričvrstite objemko
SL
Utiahnite upevnenie
SK
Затяните крепление
RU
Kıskacı Sıkıştırın
TR
Stram holderen
NO
留め具を締めます。
JP
拧紧紧固件
CN
Βιδώστε τον σφιγκτήραGK
Apertar aperto
PT
Stram fæstneren
DA
Kiristä kiinnitin
FI
Spänn fäste
SV
Strângeţi dispozitivul de fixare
RO
Затегнете натегача
BL
Pingutage kinnitit
ET
Savelciet fiksatoru
LV
13
2
3
Bekijk gratis de handleiding van OmniMount WM4-L, stel vragen en lees de antwoorden op veelvoorkomende problemen, of gebruik onze assistent om sneller informatie in de handleiding te vinden of uitleg te krijgen over specifieke functies.
Productinformatie
Merk | OmniMount |
Model | WM4-L |
Categorie | Niet gecategoriseerd |
Taal | Nederlands |
Grootte | 17774 MB |
Caratteristiche Prodotto
Kleur van het product | Zwart |
Montagewijze | Muur |
Afmetingen verpakking (BxDxH) | 965 x 457 x 152 mm |
Geschikt voor schermmaten | 37 - 52 " |
Maximale gewichtscapaciteit | 56.7 kg |