OmniMount WM4-L handleiding
Handleiding
Je bekijkt pagina 24 van 44

P24
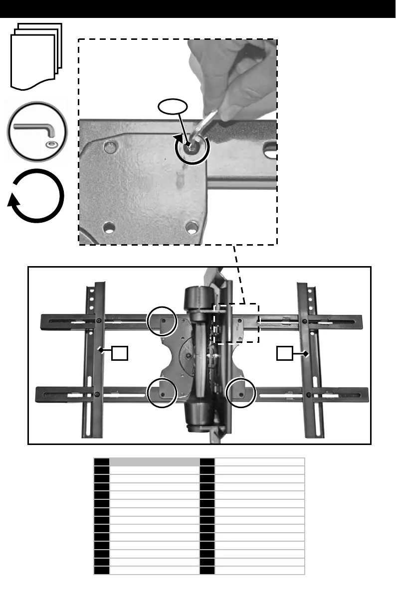
OPTION A - 1
22
A
x4
Spänn fäste
Kiristä kiinnitin
Stram fæstneren
Apertar aperto
Βιδώστε τον σφιγκτήρα
Szorítsa meg a rögzít
ő
t.
Utáhn
ě
te upevn
ě
ní
Zaci
ś
nij
łą
cznik
Serrare il dispositivo di fissaggio
Draai de bevestiging vast
Ziehen Sie die Befestigung fest
Serrez l'attache
Ajuste el sujetador
Tighten Fastener
SV
FI
DA
PT
GK
HU
CZ
PL
IT
NL
DE
FR
ES
EN
Затяните крепление
RU
K
ı
skac
ı
S
ı
k
ış
t
ı
r
ı
n
TR
Stram holderen
NO
ﻚﺒﺸﻤﻟا ﻂﺑرا
AR
拧紧紧固件
CN
留め具を締めます。
JP
Utiahnite upevnenieSK
Savelciet fiksatoru
LV
Priver
ž
ti tvirtinimo element
ą
LT
Pri
č
vrstite objemko
SL
Strânge
ţ
idispozitivulde fixare
RO
Затегнете натегача
BL
Pingutage kinnitit
ET
P-C
Bekijk gratis de handleiding van OmniMount WM4-L, stel vragen en lees de antwoorden op veelvoorkomende problemen, of gebruik onze assistent om sneller informatie in de handleiding te vinden of uitleg te krijgen over specifieke functies.
Productinformatie
Merk | OmniMount |
Model | WM4-L |
Categorie | Niet gecategoriseerd |
Taal | Nederlands |
Grootte | 17774 MB |
Caratteristiche Prodotto
Kleur van het product | Zwart |
Montagewijze | Muur |
Afmetingen verpakking (BxDxH) | 965 x 457 x 152 mm |
Geschikt voor schermmaten | 37 - 52 " |
Maximale gewichtscapaciteit | 56.7 kg |