OmniMount OmniBasics OB60C handleiding
Handleiding
Je bekijkt pagina 11 van 24

P11
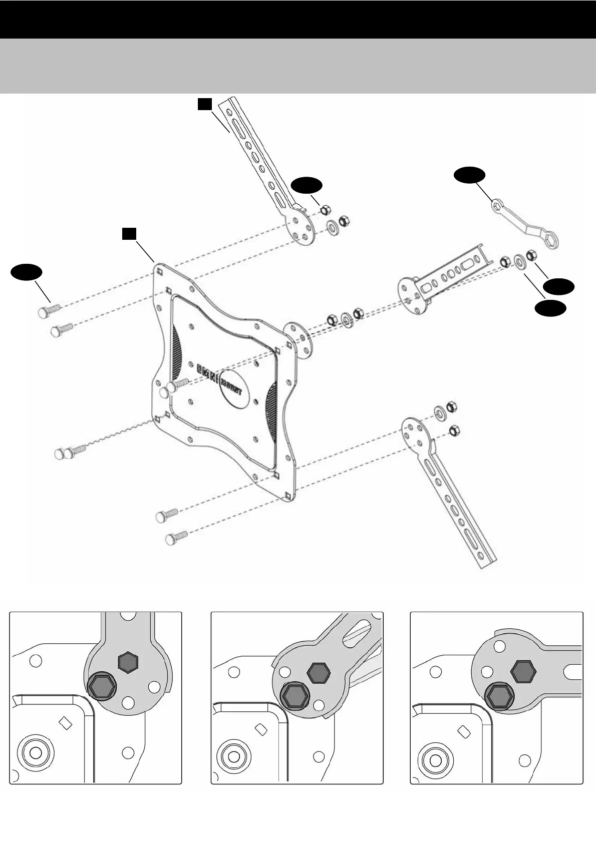
STEP 8 CONTINUED: FOR CONFIGURATIONS 2-4, ATTACH EXTENSION ADAPTERS (PART #8) TO THE
BACK OF THE FLAT PANEL PLATE (PART #3) AS SHOWN.
PASO 8 CONTINUACION: PARA LAS CONFIGURACIONES 2-4, COLOCAR LOS ES DE EXTENSION (PARTE #8) EN LA PARTE
POSTERIOR DE LA PLACA PLANA DEL PANEL (PARTE #3) COMO SE MUESTRA.
P-F
P-C
2
CONFIGURATION
CONFIGURACIÓN
3
CONFIGURATION
CONFIGURACIÓN
4
CONFIGURATION
CONFIGURACIÓN
CONFIGURATION 2-4
CONFIGURACIÓN 2-4
P-E
P-D
8
3
VIEW FROM BACK
VISTA DESDE LA PARTE POSTERIOR
VIEW FROM BACK
VISTA DESDE LA PARTE POSTERIOR
VIEW FROM BACK
VISTA DESDE LA PARTE POSTERIOR
P-D
Bekijk gratis de handleiding van OmniMount OmniBasics OB60C, stel vragen en lees de antwoorden op veelvoorkomende problemen, of gebruik onze assistent om sneller informatie in de handleiding te vinden of uitleg te krijgen over specifieke functies.
Productinformatie
Merk | OmniMount |
Model | OmniBasics OB60C |
Categorie | Niet gecategoriseerd |
Taal | Nederlands |
Grootte | 8511 MB |