OmniMount Echo 50FPLE handleiding

32 pagina's
PDF beschikbaar

Handleiding

Je bekijkt pagina 22 van 32
P22
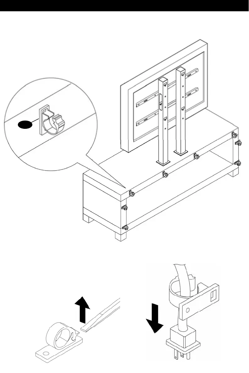
CABLE MANAGEMENT
P-J

Bekijk gratis de handleiding van OmniMount Echo 50FPLE, stel vragen en lees de antwoorden op veelvoorkomende problemen, of gebruik onze assistent om sneller informatie in de handleiding te vinden of uitleg te krijgen over specifieke functies.

Productinformatie

MerkOmniMount
ModelEcho 50FPLE
CategorieNiet gecategoriseerd
TaalNederlands
Grootte8257 MB

Caratteristiche Prodotto

Kleur van het productZwart
Gewicht36600 g
Breedte127 mm
Diepte394 mm
Hoogte1207 mm