Handleiding
Je bekijkt pagina 76 van 111

PT - 11
2. INSTALAÇÃO E PREPARAÇÃO
PARA UTILIZAÇÃO
NOTA: Este eletrodoméstico deverá
ser instalado por uma pessoa de
serviço autorizada ou técnico
qualificado, de acordo com as instruções
neste guia e em conformidade com as
regulamentações locais atuais.
• A instalação incorreta poderá causas
lesões ou danos, pelos quais
o fabricante não assume qualquer
responsabilidade e para os quais
a garantia não será válida.
• Antes da instalação, certifique-se de
que as condições de distribuição local
(tensão elétrica e frequência
e/ou natureza do gás e da pressão de
gás) e os ajustes do eletrodoméstico
são compatíveis. As condições de
ajuste para este eletrodoméstico são
identificadas na etiqueta.
• As leis, decretos, diretivas e padrões
em vigor no país de utilização devem
ser seguidos (regulamentações de
segurança, reciclagem adequada de
acordo com as regulamentações, etc.).
2.1.
Requisitos de ventilação
• Para divisões com um volume inferior
a 5 m
3
, é necessária uma ventilação
permanente de 100 cm
2
de área livre.
• Para divisões com um volume inferior
a 5 m
3
e 10 m
3
, é necessária uma
ventilação permanente de 50 cm
2
de área
livre, a menos que a divisão tenha uma
porta que abra diretamente para o exterior
sendo que neste caso não é necessária
qualquer ventilação permanente.
• Para divisões com volume superior
a 10 m
3
, não é necessária uma
ventilação permanente.
Importante:
Independentemente do
tamanho da divisão, todas as divisões
deverão ter acesso direto para o exterior
através de uma janela aberta ou equivalente.
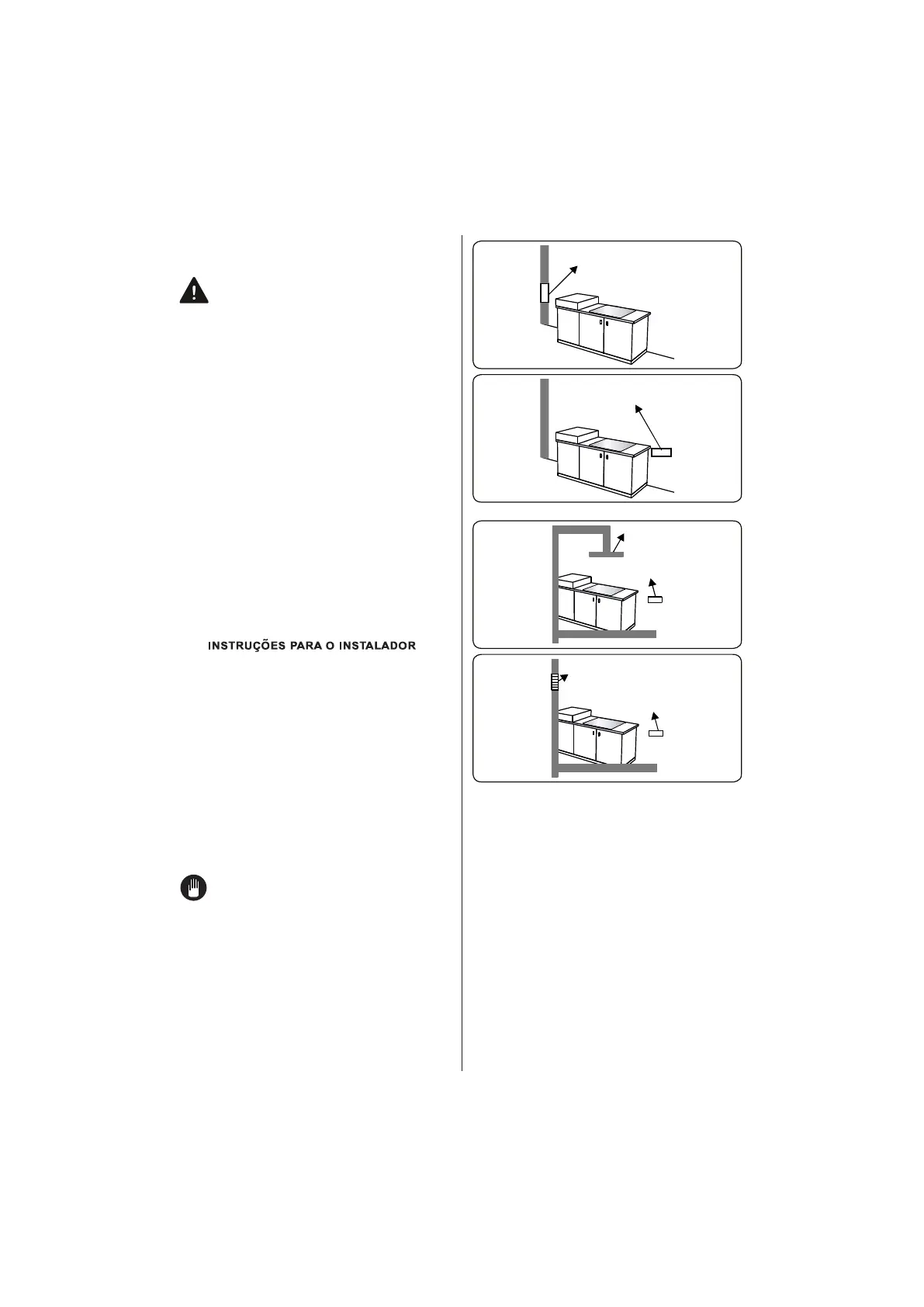
Esvaziar gases queimados do ambiente
Os eletrodomésticos a gás expelem gás
queimado para o exterior, diretamente ou
através de um exaustor com uma chaminé.
Se não for possível instalar o exaustor, instale
uma ventoinha na janela ou na parede que
tenha acesso a ar fresco. A ventoinha deverá
ter a capacidade de alterar o volume de ar na
cozinha a um mínimo de 4 a 5 vezes por hora.
Secção de entrada
de ar mín. 100 cm
2
Secção de entrada
de ar mín. 100 cm
2
PLACA
P
L
A
C
A
Secção de entrada
de ar mín. 100 cm
2
Secção de entrada de
ar mín. 100 cm
2
Conduta
da tampa
do fogão
Ventilador Elétrico
PLACA
PLACA
Instruções gerais
• Após a remoção do material de
embalamento do eletrodoméstico
e seus acessórios, certifique-se de que
o eletrodoméstico não está danificado. Se
suspeitar de qualquer dano, não o utilize
e contacte, imediatamente uma pessoa de
serviço autorizada ou técnico qualificado.
• Certifique-se de que não existem
materiais inflamáveis ou combustíveis nas
proximidades, como por exemplo, cortinas,
óleo, roupas, etc. que possam pegar fogo.
• A bancada e a mobília circundante ao
eletrodoméstico deverão ser fabricadas
de materiais resistentes a temperaturas
acima de 100 °C.
• Se um exaustor ou armário for instalado
acima do eletrodoméstico, a distância
Bekijk gratis de handleiding van Oceanic OCEATG2VB, stel vragen en lees de antwoorden op veelvoorkomende problemen, of gebruik onze assistent om sneller informatie in de handleiding te vinden of uitleg te krijgen over specifieke functies.
Productinformatie
| Merk | Oceanic |
| Model | OCEATG2VB |
| Categorie | Fornuis |
| Taal | Nederlands |
| Grootte | 9304 MB |







