Handleiding
Je bekijkt pagina 33 van 111

EN - 10
2. INSTALLATION AND
PREPARATION FOR USE
WARNING: This appliance must be
installed by an authorised service
person or qualified technician,
according to the instructions in this guide
and in compliance with the current local
regulations.
• Incorrect installation may cause harm
and damage, for which the manufacturer
accepts no responsibility and the
warranty will not be valid.
• Prior to installation, ensure that the local
distribution conditions (electricity voltage
and frequency and/or nature of the gas
and gas pressure) and the adjustments
of the appliance are compatible. The
adjustment conditions for this appliance
are stated on the label.
• The laws, ordinances, directives and
standards in force in the country of use
are to be followed (safety regulations,
proper recycling in accordance with the
regulations, etc.).
2.1
Ventilation requirements
• For rooms with a volume of less than
5 m
3
, permanent ventilation of 100 cm
2
free area is required.
• For rooms with a volume of between 5
m
3
and 10 m
3
, permanent ventilation of
50 cm
2
free area will be required, unless
the room has a door which opens
directly to outside air in which case no
permanent ventilation is required.
• For rooms with a volume greater than
10 m
3
, no permanent ventilation is
required.
Important: Regardless of room size,
all rooms containing the appliance
must have direct access to outside air
via an openable window or equivalent.
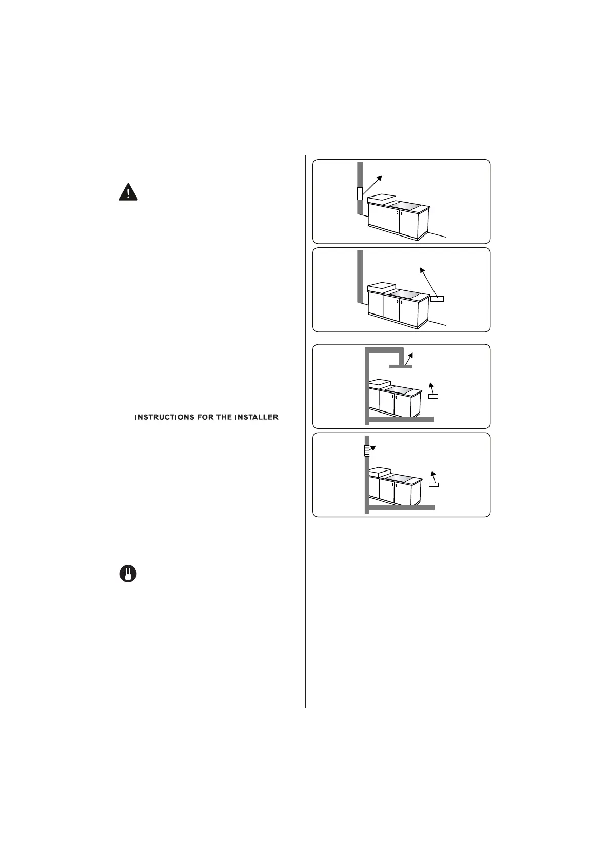
Emptying of burned gases from the
environment
Gas appliances expel burned gas waste
to the outside air, either directly or via a
cooker hood with a chimney. If it is not
possible to install a cooker hood, install a
fan on the window or wall that has access
to fresh air. The fan must have the capacity
to change the volume of air in the kitchen a
minimum of 4-5 times per hour.
Air inlet section min.
100 cm
2
Air inlet section
min. 100 cm
2
HOB
HOB
Air inlet section
min. 100 cm
2
Air inlet section
min. 100 cm
2
Cooker
hood
flue
Electrical ventilator
HOB
HOB
General instructions
• After removing the packaging material
from the appliance and its accessories,
ensure that the appliance is not
damaged. If you suspect any damage,
do not use it and contact an authorised
service person or qualified technician
immediately.
• Make sure that there are no flammable
or combustible materials in the close
vicinity, such as curtains, oil, cloth etc.
which may catch fire.
• The worktop and furniture surrounding
the appliance must be made of
materials resistant to temperatures
above 100°C.
• If a cooker hood or cupboard is to be
installed above the appliance, the safety
Bekijk gratis de handleiding van Oceanic OCEATG2VB, stel vragen en lees de antwoorden op veelvoorkomende problemen, of gebruik onze assistent om sneller informatie in de handleiding te vinden of uitleg te krijgen over specifieke functies.
Productinformatie
Merk | Oceanic |
Model | OCEATG2VB |
Categorie | Fornuis |
Taal | Nederlands |
Grootte | 9304 MB |