Handleiding
Je bekijkt pagina 9 van 39

Page 8 of 36
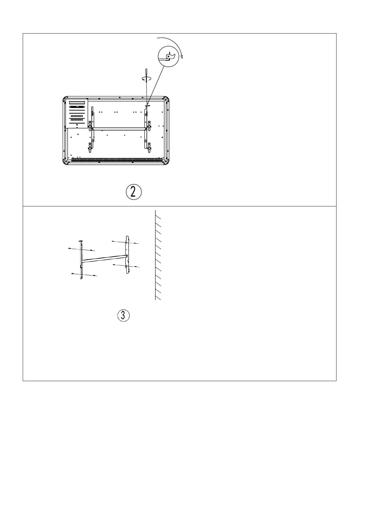
Desserrer la vis de
fixation du support
sans la dévisser
complètement.
Faire glisser le loquet
métallique hors du
trou.
Retirer le support en
tirant vers le bas.
Positionner le support
mural à l'endroit
voulu. S'assurer au
niveau à bulle qu'il est
horizontal.
Marquer l'emplacement des 4 vis de fixation au mur.
Percer le mur pour fixer le système d'ancrage adapté.
Fixer le support au mur.
Bekijk gratis de handleiding van Oceanic OCEAISHFT1500W, stel vragen en lees de antwoorden op veelvoorkomende problemen, of gebruik onze assistent om sneller informatie in de handleiding te vinden of uitleg te krijgen over specifieke functies.
Productinformatie
Merk | Oceanic |
Model | OCEAISHFT1500W |
Categorie | Heater |
Taal | Nederlands |
Grootte | 4750 MB |